Каталог запасных частей к технике: Ford Escort Turnier Flair (2012). Боковина фургона

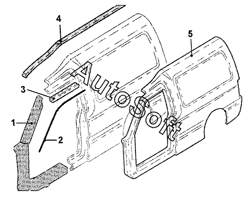
2
2
5
5
Позиция на иллюстрации | Заводской номер детали | Название детали | |
---|---|---|---|
2 | 1***7 | Уплотнитель рамы лев. двери верхн. | |
2 | 1***8 | Уплотнитель рамы прав. двери верхн. | |
5 | 1***4 | Боковина и рамка двери прав. | |
5 | 1***6 | Боковина и рамка двери лев. |
Содержащиеся в справочниках-каталогах запасные части и детали не предлагаются к продаже, а носят исключительно информационный характер. В демо-версии артикулы (номера деталей) скрыты. Если вы хотите видеть полные оригинальные номера запчастей, вам необходимо зарегистрироваться на нашем сайте и приобрести подписку по интересующей вас конфигурации, после этого вы сможете встроить онлайн-каталоги на ваш сайт или пользоваться ими из личного кабинета нашего сайта. Обращаем ваше внимание на то, что каталоги содержат информацию об оригинальных заводских номерах и названиях запчастей. База по аналогам в данный момент не реализована. Поиска по VIN-номерам в онлайн-каталоге не предусмотрено. Выбор конкретного каталога осуществляется путем открытия нужного типа техники, марки, модели с учетом года выпуска или модификации.