Каталог запасных частей к технике: Ford Focus 1.8 TDCI Futura (2012). Передняя часть кузова: капот, лобовое стекло

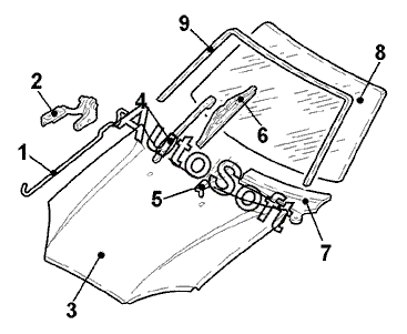
1
2
2
3
4
4
5
5
7
9
6
7
8
Позиция на иллюстрации | Заводской номер детали | Название детали | |
---|---|---|---|
1 | 1***4 | Опора капота | |
2 | 1***0 | Петля капота прав. | |
2 | 1***1 | Петля капота лев. | |
3 | 1***8 | Капот | |
4 | 1***2 | Рычаг стеклоочистителя прав. | |
4 | 1***4 | Рычаг стеклоочистителя лев. | |
5 | 1***4 | Форсунка омывателя прав. | |
5 | 1***4 | Форсунка омывателя лев. | |
6 | 1***8 | Щетка стеклоочистителя (к-кт) | |
7 | 1***3 | Решетка обтекателя прав. | |
7 | 1***4 | Решетка обтекателя лев. | |
8 | 1***1 | Стекло лобовое тонир. | |
9 | 1***2 | Накладка декоративная лобового стекла |
Содержащиеся в справочниках-каталогах запасные части и детали не предлагаются к продаже, а носят исключительно информационный характер. В демо-версии артикулы (номера деталей) скрыты. Если вы хотите видеть полные оригинальные номера запчастей, вам необходимо зарегистрироваться на нашем сайте и приобрести подписку по интересующей вас конфигурации, после этого вы сможете встроить онлайн-каталоги на ваш сайт или пользоваться ими из личного кабинета нашего сайта. Обращаем ваше внимание на то, что каталоги содержат информацию об оригинальных заводских номерах и названиях запчастей. База по аналогам в данный момент не реализована. Поиска по VIN-номерам в онлайн-каталоге не предусмотрено. Выбор конкретного каталога осуществляется путем открытия нужного типа техники, марки, модели с учетом года выпуска или модификации.