Каталог запасных частей к технике: Ford Focus Turnier 1.8 Fun X (2012). Двигатель/ Система охлаждения 3

10
18
17
17
16
15
14
13
11
11
1
8
8
7
6
5
4
3
2
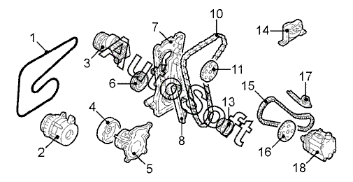
Позиция на иллюстрации | Заводской номер детали | Название детали | |
---|---|---|---|
1 | 1***4 | Ремень приводной | |
2 | 1***9 | Генератор | |
3 | 1***1 | Ролик натяжной | |
4 | 1***4 | Шкив водяного насоса | |
5 | 1***7 | Насос водяной | |
6 | 1***9 | Шкив коленчатого вала | |
7 | 1***3 | Крышка | |
8 | 1***9 | Натяжитель цепи | |
8 | 1***1 | Направляющая цепи | |
10 | 1***2 | Цепь привода | |
11 | 1***8 | Шестерня ведущая передн. распределительного вала | |
11 | 1***8 | Шестерня ведущая задн. распределительного вала | |
13 | 1***0 | Шестерня ведущая коленчатого вала | |
14 | 1***2 | Опора двигателя прав. | |
15 | 1***7 | Цепь привода | |
16 | 1***8 | Шестерня масляного насоса | |
17 | 1***5 | Направляющая цепи | |
17 | 1***3 | Натяжитель цепи | |
18 | 1***2 | Насос масляный |
Содержащиеся в справочниках-каталогах запасные части и детали не предлагаются к продаже, а носят исключительно информационный характер. В демо-версии артикулы (номера деталей) скрыты. Если вы хотите видеть полные оригинальные номера запчастей, вам необходимо зарегистрироваться на нашем сайте и приобрести подписку по интересующей вас конфигурации, после этого вы сможете встроить онлайн-каталоги на ваш сайт или пользоваться ими из личного кабинета нашего сайта. Обращаем ваше внимание на то, что каталоги содержат информацию об оригинальных заводских номерах и названиях запчастей. База по аналогам в данный момент не реализована. Поиска по VIN-номерам в онлайн-каталоге не предусмотрено. Выбор конкретного каталога осуществляется путем открытия нужного типа техники, марки, модели с учетом года выпуска или модификации.