Каталог запасных частей к технике: Ford Focus C-MAX 2.0 TDCI Trend (2012). Панель приборов 4

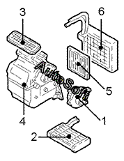
2
5
3
6
1
4
Позиция на иллюстрации | Заводской номер детали | Название детали | |
---|---|---|---|
1 | 1***0 | Двигатель отопителя | |
2 | 1***0 | Теплообменник | |
3 | 1***2 | Отопитель дополнительный | |
4 | 1***4 | Корпус отопителя | |
5 | 1***4 | Фильтр | |
6 | 1***2 | Испаритель |
Содержащиеся в справочниках-каталогах запасные части и детали не предлагаются к продаже, а носят исключительно информационный характер. В демо-версии артикулы (номера деталей) скрыты. Если вы хотите видеть полные оригинальные номера запчастей, вам необходимо зарегистрироваться на нашем сайте и приобрести подписку по интересующей вас конфигурации, после этого вы сможете встроить онлайн-каталоги на ваш сайт или пользоваться ими из личного кабинета нашего сайта. Обращаем ваше внимание на то, что каталоги содержат информацию об оригинальных заводских номерах и названиях запчастей. База по аналогам в данный момент не реализована. Поиска по VIN-номерам в онлайн-каталоге не предусмотрено. Выбор конкретного каталога осуществляется путем открытия нужного типа техники, марки, модели с учетом года выпуска или модификации.