Каталог запасных частей к технике: Ford Orion 16V CLX (2012). Основание и обивка салона

22
15
17
17
18
18
19
19
21
14
23
2
16
3
6
6
20
20
10
4
4
5
7
8
8
9
9
1
10
11
11
12
12
13
13
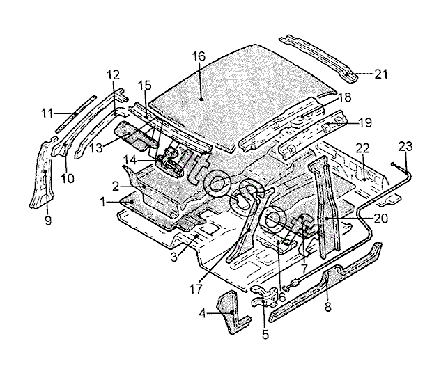
Позиция на иллюстрации | Заводской номер детали | Название детали | |
---|---|---|---|
1 | 6***3 | Изоляция основания | |
2 | 6***8 | Облицовка основания в сборе | |
3 | 6***4 | Основание передн. | |
4 | 6***5 | Облицовка передн. прав. стойки нижн. | |
4 | 6***6 | Облицовка передн. лев. стойки нижн. | |
5 | 6***6 | Контакт размыкающий крышки багажника | |
6 | 6***1 | Поперечина передн. прав. сиденья | |
6 | 6***2 | Поперечина передн. лев. сиденья | |
7 | 6***1 | Шумоизоляция основания задн. | |
8 | 6***7 | Накладка порога прав. | |
8 | 6***1 | Накладка порога лев. | |
9 | 1***8 | Усилитель передн. стойки нижн. | |
9 | 1***9 | Усилитель передн. стойки нижн. | |
10 | 1***4 | Стойка передн. прав., верхн. внутр. часть | |
10 | 1***5 | Стойка передн. лев., верхн. внутр. часть | |
11 | 1***7 | Панель крепления передн. прав. стойки | |
11 | 1***8 | Панель крепления передн. лев. стойки | |
12 | 1***6 | Усилитель передн. стойки внутр. | |
12 | 1***8 | Усилитель передн. стойки внутр. | |
13 | 6***6 | Козырек солнцезащитный лев. | |
13 | 7***6 | Козырек солнцезащитный прав. | |
14 | 1***8 | Зеркало внутр. | |
15 | 1***2 | Рама крыши, передн. часть | |
16 | 6***7 | Облицовка крыши | |
17 | 7***6 | Облицовка передн. прав. стойки верхн. | |
17 | 7***7 | Облицовка передн. лев. стойки верхн. | |
18 | 1***3 | Усилитель рамы крыши лев. | |
18 | 1***8 | Усилитель рамы крыши прав. | |
19 | 6***0 | Рама крыши, прав. часть | |
19 | 6***1 | Рама крыши, лев. часть | |
20 | 6***0 | Облицовка средн. прав. стойки | |
20 | 6***5 | Облицовка средн. лев. стойки | |
21 | 6***0 | Рама крыши, задн. часть | |
22 | 6***1 | Поперечина основания средн. | |
23 | 6***2 | Тяга привода замка крышки багажника |
Содержащиеся в справочниках-каталогах запасные части и детали не предлагаются к продаже, а носят исключительно информационный характер. В демо-версии артикулы (номера деталей) скрыты. Если вы хотите видеть полные оригинальные номера запчастей, вам необходимо зарегистрироваться на нашем сайте и приобрести подписку по интересующей вас конфигурации, после этого вы сможете встроить онлайн-каталоги на ваш сайт или пользоваться ими из личного кабинета нашего сайта. Обращаем ваше внимание на то, что каталоги содержат информацию об оригинальных заводских номерах и названиях запчастей. База по аналогам в данный момент не реализована. Поиска по VIN-номерам в онлайн-каталоге не предусмотрено. Выбор конкретного каталога осуществляется путем открытия нужного типа техники, марки, модели с учетом года выпуска или модификации.