Каталог запасных частей к технике: Ford Sierra Coupe CL (2012). Передок кузова (с 1987г.): бампер, фары, решетка радиатора

6
9
15
14
13
13
12
8
7
7
1
6
5
5
3
3
2
2
1
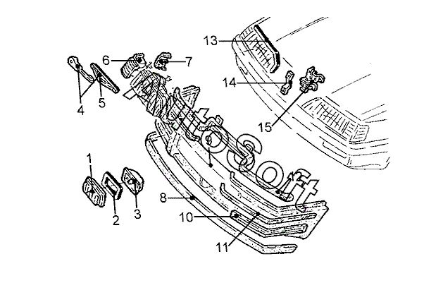
Позиция на иллюстрации | Заводской номер детали | Название детали | |
---|---|---|---|
1 | 6***3 | Оптический элемент противотуманной фары прав. | |
1 | 6***3 | Оптический элемент противотуманной фары лев. | |
2 | 6***7 | Уплотнитель прав. противотуманной фары | |
2 | 6***7 | Уплотнитель лев. противотуманной фары | |
3 | 6***7 | Отражатель противотуманной фары прав. | |
3 | 6***7 | Отражатель противотуманной фары лев. | |
5 | 6***8 | Щетка стеклоочистителя прав. | |
5 | 6***8 | Щетка стеклоочистителя лев. | |
6 | 1***2 | Фонарь указателя поворота прав. | |
6 | 6***5 | Фонарь указателя поворота лев. | |
7 | 6***0 | Кронштейн прав. фонаря указателя поворота | |
7 | 6***0 | Кронштейн лев. фонаря указателя поворота | |
8 | 6***7 | Щиток камнезащитный | |
9 | 1***9 | Бампер передн. | |
12 | 1***3 | Решетка радиатора | |
13 | 6***5 | Уплотнитель капота прав. | |
13 | 6***5 | Уплотнитель капота лев. | |
14 | 6***7 | Опора кронштейна | |
15 | 6***1 | Замок капота |
Содержащиеся в справочниках-каталогах запасные части и детали не предлагаются к продаже, а носят исключительно информационный характер. В демо-версии артикулы (номера деталей) скрыты. Если вы хотите видеть полные оригинальные номера запчастей, вам необходимо зарегистрироваться на нашем сайте и приобрести подписку по интересующей вас конфигурации, после этого вы сможете встроить онлайн-каталоги на ваш сайт или пользоваться ими из личного кабинета нашего сайта. Обращаем ваше внимание на то, что каталоги содержат информацию об оригинальных заводских номерах и названиях запчастей. База по аналогам в данный момент не реализована. Поиска по VIN-номерам в онлайн-каталоге не предусмотрено. Выбор конкретного каталога осуществляется путем открытия нужного типа техники, марки, модели с учетом года выпуска или модификации.