Каталог запасных частей к технике: Ford Sierra XR 4x4 (2012). Передняя часть кузова: лонжероны, арки колес, щиток передка

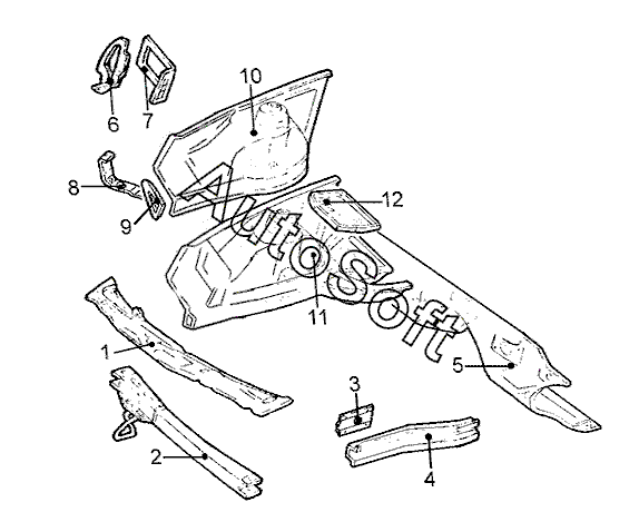
6
11
11
10
10
12
8
8
7
7
9
6
5
4
4
3
3
2
1
9
Позиция на иллюстрации | Заводской номер детали | Название детали | |
---|---|---|---|
1 | 1***1 | Поперечина передн. верхн. | |
2 | 1***5 | Поперечина передн. нижн. | |
3 | 6***0 | Заглушка лонжерона | |
3 | 6***1 | Заглушка лонжерона | |
4 | 6***8 | Наконечник передн. прав. лонжерона | |
4 | 6***0 | Наконечник передн. лонжерона лев. | |
5 | 1***3 | Панель/щиток передка | |
6 | 6***6 | Панель крепления бампера прав. | |
6 | 6***7 | Панель крепления бампера лев. | |
7 | 1***9 | Кронштейн фары прав. | |
7 | 1***0 | Кронштейн фары лев. | |
8 | 1***6 | Распорка крыла прав. | |
8 | 1***7 | Распорка крыла лев. | |
9 | 1***7 | Усилитель распорки передн. прав. | |
9 | 1***8 | Усилитель распорки передн. лев. | |
10 | 1***7 | Распорка прав. | |
10 | 6***2 | Распорка лев. | |
11 | 1***6 | Распорка с лонжероном прав. | |
11 | 1***7 | Распорка с лонжероном лев. | |
12 | 1***5 | Кронштейн аккумуляторной батареи |
Содержащиеся в справочниках-каталогах запасные части и детали не предлагаются к продаже, а носят исключительно информационный характер. В демо-версии артикулы (номера деталей) скрыты. Если вы хотите видеть полные оригинальные номера запчастей, вам необходимо зарегистрироваться на нашем сайте и приобрести подписку по интересующей вас конфигурации, после этого вы сможете встроить онлайн-каталоги на ваш сайт или пользоваться ими из личного кабинета нашего сайта. Обращаем ваше внимание на то, что каталоги содержат информацию об оригинальных заводских номерах и названиях запчастей. База по аналогам в данный момент не реализована. Поиска по VIN-номерам в онлайн-каталоге не предусмотрено. Выбор конкретного каталога осуществляется путем открытия нужного типа техники, марки, модели с учетом года выпуска или модификации.