Каталог запасных частей к технике: Ford Sierra Cosworth 16V 4x4 (2012). Система охлаждения двигателя DOHC

1
2
3
5
6
8
11
12
4
7
9
10
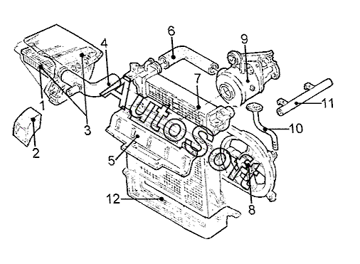
Позиция на иллюстрации | Заводской номер детали | Название детали | |
---|---|---|---|
1 | 1***5 | Элемент фильтрующий воздушного фильтра | |
2 | 1***1 | Патрубок воздухозаборника | |
3 | 1***4 | Фильтр воздушный в сборе | |
4 | 6***8 | Шланг воздухозаборника | |
5 | 1***5 | Воздуховод верхн. | |
6 | 1***5 | Шланг вентилятора | |
7 | 1***1 | Охладитель наддувочного воздуха | |
8 | 1***7 | Двигатель вентилятора | |
9 | 1***0 | Турбокомпрессор | |
10 | 6***5 | Трубопровод масляный | |
11 | 1***0 | Труба соединительная | |
12 | 1***3 | Воздуховод нижн. |
Содержащиеся в справочниках-каталогах запасные части и детали не предлагаются к продаже, а носят исключительно информационный характер. В демо-версии артикулы (номера деталей) скрыты. Если вы хотите видеть полные оригинальные номера запчастей, вам необходимо зарегистрироваться на нашем сайте и приобрести подписку по интересующей вас конфигурации, после этого вы сможете встроить онлайн-каталоги на ваш сайт или пользоваться ими из личного кабинета нашего сайта. Обращаем ваше внимание на то, что каталоги содержат информацию об оригинальных заводских номерах и названиях запчастей. База по аналогам в данный момент не реализована. Поиска по VIN-номерам в онлайн-каталоге не предусмотрено. Выбор конкретного каталога осуществляется путем открытия нужного типа техники, марки, модели с учетом года выпуска или модификации.