Каталог запасных частей к технике: Ford Sierra GL (2012). Особенности панели приборов для GL/XR4/Ghia/Cosworth

5
6
9
1
2
3
4
7
8
10
11
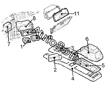
Позиция на иллюстрации | Заводской номер детали | Название детали | |
---|---|---|---|
1 | 6***6 | Часы цифровые | |
2 | 6***7 | Отделение для вещей | |
3 | 6***3 | Консоль, верхн. часть | |
4 | 6***5 | Консоль | |
5 | 1***5 | Консоль верхн. | |
6 | 1***1 | Консоль, задн. верхн. часть | |
7 | 6***1 | Тахометр | |
8 | 6***1 | Корпус бортового компьютера | |
9 | 6***5 | Накладка бортового компьютера | |
10 | 6***1 | Компьютер бортовой | |
11 | 1***8 | Накладка отделения для вещей прав. верхн. |
Содержащиеся в справочниках-каталогах запасные части и детали не предлагаются к продаже, а носят исключительно информационный характер. В демо-версии артикулы (номера деталей) скрыты. Если вы хотите видеть полные оригинальные номера запчастей, вам необходимо зарегистрироваться на нашем сайте и приобрести подписку по интересующей вас конфигурации, после этого вы сможете встроить онлайн-каталоги на ваш сайт или пользоваться ими из личного кабинета нашего сайта. Обращаем ваше внимание на то, что каталоги содержат информацию об оригинальных заводских номерах и названиях запчастей. База по аналогам в данный момент не реализована. Поиска по VIN-номерам в онлайн-каталоге не предусмотрено. Выбор конкретного каталога осуществляется путем открытия нужного типа техники, марки, модели с учетом года выпуска или модификации.