Каталог запасных частей к технике: Ford Mondeo Fashion Automatic (2012). Передняя часть кузова: передний пол, лонжероны, арки колес

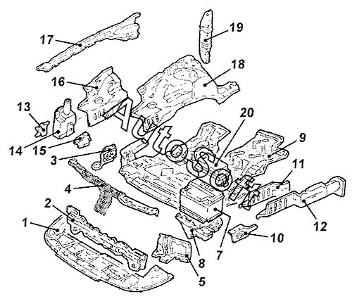
12
20
20
19
19
18
18
17
17
16
16
15
15
14
13
12
1
11
11
10
10
9
8
7
7
7
5
5
4
3
2
Позиция на иллюстрации | Заводской номер детали | Название детали | |
---|---|---|---|
1 | 1***9 | Обтекатель капота нижн. | |
2 | 6***2 | Поперечина передн. нижн. | |
3 | 6***8 | Проушина буксирная передн. | |
4 | 6***8 | Заглушка капота | |
5 | 6***9 | Кронштейн фары прав. | |
5 | 6***0 | Кронштейн фары лев. | |
7 | 1***6 | Батарея аккумуляторная | |
7 | 6***4 | Батарея аккумуляторная | |
7 | 7***3 | Батарея аккумуляторная | |
8 | 1***7 | Кронштейн аккумуляторной батареи | |
9 | 1***0 | Щиток защитный двигателя | |
10 | 6***0 | Кронштейн передн. прав. крыла | |
10 | 6***1 | Кронштейн передн. лев. крыла | |
11 | 1***7 | Лонжерон передн. прав. | |
11 | 1***0 | Лонжерон передн. лев. | |
12 | 6***8 | Лонжерон передн. прав. | |
12 | 6***9 | Лонжерон передн. лев. | |
13 | 7***8 | Насос омывателя | |
14 | 1***3 | Бачок омывателя стекла | |
15 | 1***4 | Обтекатель арки колеса лев. | |
15 | 1***5 | Обтекатель арки колеса прав. | |
16 | 1***0 | Распорка передн. прав. | |
16 | 1***2 | Распорка передн. лев. | |
17 | 6***0 | Усилитель распорки передн. прав. | |
17 | 6***1 | Усилитель распорки передн. лев. | |
18 | 1***2 | Распорка прав. | |
18 | 1***3 | Распорка лев. | |
19 | 1***4 | Изоляция передн. прав. крыла | |
19 | 1***5 | Изоляция передн. лев. крыла | |
20 | 1***2 | Корпус нижн. | |
20 | 1***6 | Корпус верхн. |
Содержащиеся в справочниках-каталогах запасные части и детали не предлагаются к продаже, а носят исключительно информационный характер. В демо-версии артикулы (номера деталей) скрыты. Если вы хотите видеть полные оригинальные номера запчастей, вам необходимо зарегистрироваться на нашем сайте и приобрести подписку по интересующей вас конфигурации, после этого вы сможете встроить онлайн-каталоги на ваш сайт или пользоваться ими из личного кабинета нашего сайта. Обращаем ваше внимание на то, что каталоги содержат информацию об оригинальных заводских номерах и названиях запчастей. База по аналогам в данный момент не реализована. Поиска по VIN-номерам в онлайн-каталоге не предусмотрено. Выбор конкретного каталога осуществляется путем открытия нужного типа техники, марки, модели с учетом года выпуска или модификации.