Каталог запасных частей к технике: Ford Mondeo V6 GT (2012). Крыша

1
2
3
4
5
5
6
6
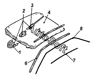
Позиция на иллюстрации | Заводской номер детали | Название детали | |
---|---|---|---|
1 | 1***4 | Провод антенны | |
2 | 1***4 | Антенна в сборе | |
3 | 6***0 | Мачта антенны | |
4 | 1***2 | Крыша | |
5 | 1***3 | Накладка декоративная крыши прав. | |
5 | 1***4 | Накладка декоративная крыши лев. | |
6 | 6***2 | Кронштейн уплотнительной рамки прав. | |
6 | 6***3 | Кронштейн уплотнительной рамки лев. |
Содержащиеся в справочниках-каталогах запасные части и детали не предлагаются к продаже, а носят исключительно информационный характер. В демо-версии артикулы (номера деталей) скрыты. Если вы хотите видеть полные оригинальные номера запчастей, вам необходимо зарегистрироваться на нашем сайте и приобрести подписку по интересующей вас конфигурации, после этого вы сможете встроить онлайн-каталоги на ваш сайт или пользоваться ими из личного кабинета нашего сайта. Обращаем ваше внимание на то, что каталоги содержат информацию об оригинальных заводских номерах и названиях запчастей. База по аналогам в данный момент не реализована. Поиска по VIN-номерам в онлайн-каталоге не предусмотрено. Выбор конкретного каталога осуществляется путем открытия нужного типа техники, марки, модели с учетом года выпуска или модификации.