Каталог запасных частей к технике: Ford Scorpio Topas (2012). Передняя и средняя части кузова: капот, крылья, лобовое стекло, крыша

11
29
25
25
21
28
28
3
4
5
5
29
15
15
16
17
17
18
18
19
7
7
19
2
2
8
8
9
9
10
10
13
13
1
20
22
23
24
24
26
26
27
27
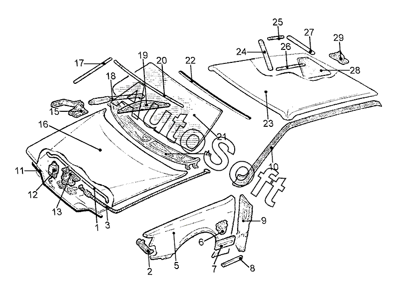
Позиция на иллюстрации | Заводской номер детали | Название детали | |
---|---|---|---|
1 | 6***3 | Опора капота | |
2 | 6***0 | Кронштейн передн. бампера прав. наружн. | |
2 | 6***1 | Кронштейн передн. бампера лев. наружн. | |
3 | 7***6 | Тросик открывания капота | |
4 | 1***3 | Решетка обтекателя | |
5 | 6***5 | Крыло передн. прав. | |
5 | 6***6 | Крыло передн. лев. | |
7 | 1***7 | Накладка упорная крыла прав. | |
7 | 1***5 | Накладка упорная крыла лев. | |
8 | 1***4 | Накладка вставки передн. прав. | |
8 | 1***5 | Накладка вставки передн. лев. | |
9 | 6***6 | Подкрылок задн. прав. колеса | |
9 | 6***7 | Облицовка арки задн. лев. колеса | |
10 | 6***2 | Уплотнитель крыши прав. верхн. | |
10 | 7***0 | Уплотнитель крыши лев. верхн. | |
11 | 6***5 | Уплотнитель капота, передн. часть | |
13 | 1***3 | Замок, верхн. часть | |
13 | 1***5 | Замок, нижн. часть | |
15 | 1***1 | Петля капота передн. прав. | |
15 | 1***3 | Петля капота передн. лев. | |
16 | 6***2 | Капот | |
17 | 1***6 | Накладка декоративная лобового стекла прав. | |
17 | 6***3 | Накладка декоративная лобового стекла лев. | |
18 | 1***0 | Рычаг стеклоочистителя лев. | |
18 | 1***1 | Рычаг стеклоочистителя прав. | |
19 | 1***1 | Щетка стеклоочистителя прав. | |
19 | 1***3 | Щетка стеклоочистителя лев. | |
20 | 6***9 | Накладка декоративная лобового стекла верхн. | |
21 | 7***3 | Стекло лобовое трехслойное тонир. | |
22 | 6***6 | Уплотнитель проема стекла | |
23 | 6***4 | Крыша | |
24 | 6***8 | Накладка декоративная лобового стекла передн. лев. | |
24 | 6***1 | Накладка декоративная лобового стекла передн. прав | |
25 | 6***9 | Накладка декоративная лобов. стекла верхн. прав. | |
25 | 6***1 | Накладка декоративная лобов. стекла верхн. лев. | |
26 | 6***6 | Накладка декоративная лобового стекла прав. нижн. | |
26 | 6***8 | Накладка декоративная лобового стекла лев. нижн. | |
27 | 6***0 | Накладка декоративная лобового стекла задн. прав. | |
27 | 6***1 | Накладка декоративная лобового стекла задн. лев. | |
28 | 6***5 | Стекло задн. части кузова прав. тонир. | |
28 | 6***6 | Стекло задн. части кузова лев. тонир. | |
29 | 6***9 | Петля задн. прав. | |
29 | 6***9 | Петля задн. лев. |
Содержащиеся в справочниках-каталогах запасные части и детали не предлагаются к продаже, а носят исключительно информационный характер. В демо-версии артикулы (номера деталей) скрыты. Если вы хотите видеть полные оригинальные номера запчастей, вам необходимо зарегистрироваться на нашем сайте и приобрести подписку по интересующей вас конфигурации, после этого вы сможете встроить онлайн-каталоги на ваш сайт или пользоваться ими из личного кабинета нашего сайта. Обращаем ваше внимание на то, что каталоги содержат информацию об оригинальных заводских номерах и названиях запчастей. База по аналогам в данный момент не реализована. Поиска по VIN-номерам в онлайн-каталоге не предусмотрено. Выбор конкретного каталога осуществляется путем открытия нужного типа техники, марки, модели с учетом года выпуска или модификации.