Каталог запасных частей к технике: Ford Scorpio Topas (2012). Средняя и задняя части кузова (седан): боковина, крышка багажника

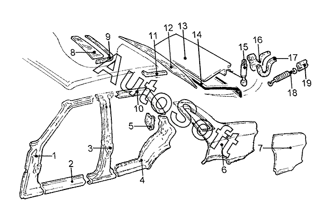
16
10
10
11
11
12
13
14
15
9
16
17
17
18
18
19
19
5
1
2
2
3
3
4
4
5
1
6
6
7
7
8
8
9
Позиция на иллюстрации | Заводской номер детали | Название детали | |
---|---|---|---|
1 | 7***6 | Стойка передн. прав. | |
1 | 7***7 | Стойка передн. лев. | |
2 | 7***8 | Порог передн. прав. двери | |
2 | 7***9 | Порог передн. лев. двери | |
3 | 7***0 | Стойка средн. прав. | |
3 | 7***1 | Стойка средн. лев. | |
4 | 6***5 | Порог задн. прав. двери | |
4 | 6***6 | Порог задн. лев. двери | |
5 | 6***7 | Усилитель штыря замка прав. | |
5 | 6***8 | Усилитель штыря замка лев. | |
6 | 7***3 | Боковина задн. прав. | |
6 | 7***4 | Боковина лев., задн. часть | |
7 | 6***7 | Наконечник прав. боковины | |
7 | 6***8 | Наконечник лев. боковины | |
8 | 1***4 | Стекло задн. части кузова прав. тонир. | |
8 | 1***5 | Стекло задн. части кузова лев. тонир. | |
9 | 6***0 | Накладка декоративная лобового стекла задн. прав. | |
9 | 6***1 | Накладка декоративная лобового стекла задн. лев. | |
10 | 7***5 | Стойка задн. прав. в сборе | |
10 | 7***6 | Стойка задн. лев. в сборе | |
11 | 6***4 | Накладка декоративная крыши задн. прав. | |
11 | 6***5 | Накладка декоративная крыши задн. лев. | |
12 | 1***5 | Стекло задка обогрев. тонир. | |
13 | 1***3 | Дверь задка | |
14 | 6***2 | Уплотнитель двери задка | |
15 | 6***0 | Амортизатор прав. | |
16 | 6***4 | Петля задн. прав. | |
16 | 6***5 | Петля задн. лев. | |
17 | 1***8 | Облицовка петли задн. прав. | |
17 | 7***0 | Облицовка петли задн. лев. | |
18 | 1***3 | Пружина двери задка прав. | |
18 | 1***3 | Пружина двери задка лев. | |
19 | 1***5 | Кронштейн пружины прав. | |
19 | 1***5 | Кронштейн пружины лев. |
Содержащиеся в справочниках-каталогах запасные части и детали не предлагаются к продаже, а носят исключительно информационный характер. В демо-версии артикулы (номера деталей) скрыты. Если вы хотите видеть полные оригинальные номера запчастей, вам необходимо зарегистрироваться на нашем сайте и приобрести подписку по интересующей вас конфигурации, после этого вы сможете встроить онлайн-каталоги на ваш сайт или пользоваться ими из личного кабинета нашего сайта. Обращаем ваше внимание на то, что каталоги содержат информацию об оригинальных заводских номерах и названиях запчастей. База по аналогам в данный момент не реализована. Поиска по VIN-номерам в онлайн-каталоге не предусмотрено. Выбор конкретного каталога осуществляется путем открытия нужного типа техники, марки, модели с учетом года выпуска или модификации.