Каталог запасных частей к технике: Ford Probe 16V Medici (2012). Передняя часть кузова: бампер

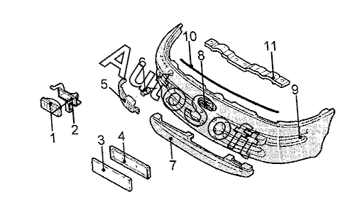
1
1
2
2
3
4
5
5
7
8
9
10
11
6
6
Позиция на иллюстрации | Заводской номер детали | Название детали | |
---|---|---|---|
1 | 3***9 | Фара противотуманная прав. | |
1 | 3***0 | Фара противотуманная лев. | |
2 | 3***1 | Кронштейн прав. противотуманной фар | |
2 | 3***2 | Кронштейн лев. противотуманной фары | |
3 | -***- | Знак номерной передн. | |
4 | 3***4 | Усилитель крепления передн. номерного знака | |
5 | 3***3 | Фонарь указателя поворота передн. прав. | |
5 | 3***4 | Фонарь указателя поворота передн. лев. | |
6 | 3***3 | Жгут проводов передн.прав. фонаря указат.поворота | |
6 | 3***3 | Жгут проводов передн.лев. фонаря указат. поворота | |
7 | 3***6 | Воздуховод передн. нижн. | |
8 | 3***9 | Эмблема "FORD" передн. | |
9 | 3***8 | Бампер передн. | |
10 | 3***2 | Накладка передн. бампера средн. | |
11 | 3***1 | Балка передн. бампера |
Содержащиеся в справочниках-каталогах запасные части и детали не предлагаются к продаже, а носят исключительно информационный характер. В демо-версии артикулы (номера деталей) скрыты. Если вы хотите видеть полные оригинальные номера запчастей, вам необходимо зарегистрироваться на нашем сайте и приобрести подписку по интересующей вас конфигурации, после этого вы сможете встроить онлайн-каталоги на ваш сайт или пользоваться ими из личного кабинета нашего сайта. Обращаем ваше внимание на то, что каталоги содержат информацию об оригинальных заводских номерах и названиях запчастей. База по аналогам в данный момент не реализована. Поиска по VIN-номерам в онлайн-каталоге не предусмотрено. Выбор конкретного каталога осуществляется путем открытия нужного типа техники, марки, модели с учетом года выпуска или модификации.