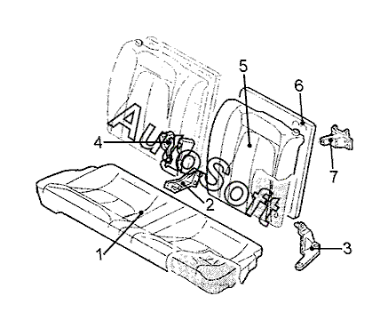
Каталог запасных частей к технике: Ford Probe 24V Medici (2012). Сиденье заднее

2
2
3
4
6
6
7
7
3
1
5
5
Позиция на иллюстрации | Заводской номер детали | Название детали | |
---|---|---|---|
1 | 1***3 | Обивка подушки задн. сиденья | |
2 | 3***2 | Петля спинки лев. сиденья внутр. | |
2 | 3***0 | Петля спинки прав. сиденья внутр. | |
3 | 3***3 | Петля спинки прав. сиденья наружн. | |
3 | 3***4 | Петля спинки лев. сиденья наружн. | |
4 | 3***2 | Замок задн. ремня безопасности | |
5 | 1***8 | Обивка задн. прав. спинки | |
5 | 1***8 | Обивка задн. лев. спинки | |
6 | 3***2 | Основание спинки задн. прав. сиденья | |
6 | 3***3 | Основание спинки задн. лев. сиденья | |
7 | 3***6 | Замок задн. лев. спинки | |
7 | 3***7 | Замок задн. прав. спинки |
Содержащиеся в справочниках-каталогах запасные части и детали не предлагаются к продаже, а носят исключительно информационный характер. В демо-версии артикулы (номера деталей) скрыты. Если вы хотите видеть полные оригинальные номера запчастей, вам необходимо зарегистрироваться на нашем сайте и приобрести подписку по интересующей вас конфигурации, после этого вы сможете встроить онлайн-каталоги на ваш сайт или пользоваться ими из личного кабинета нашего сайта. Обращаем ваше внимание на то, что каталоги содержат информацию об оригинальных заводских номерах и названиях запчастей. База по аналогам в данный момент не реализована. Поиска по VIN-номерам в онлайн-каталоге не предусмотрено. Выбор конкретного каталога осуществляется путем открытия нужного типа техники, марки, модели с учетом года выпуска или модификации.