Каталог запасных частей к технике: Ford S-Max 2.2 TDCi DPF Titanium (2012). Кузов 8

1
2
3
4
4
5
5
6
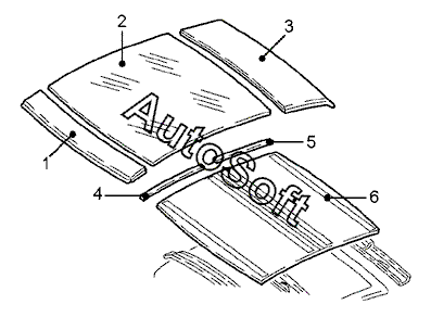
Позиция на иллюстрации | Заводской номер детали | Название детали | |
---|---|---|---|
1 | 1***4 | Крыша передн. часть | |
2 | 1***8 | Крыша панорамная | |
3 | 1***5 | Панель крыши задн. часть | |
4 | 1***8 | Ползун передн. прав. | |
4 | 1***9 | Ползун передн. лев. | |
5 | 1***2 | Ползун задн. прав. | |
5 | 1***3 | Ползун задн. лев. | |
6 | 1***6 | Козырек солнцезащитный |
Содержащиеся в справочниках-каталогах запасные части и детали не предлагаются к продаже, а носят исключительно информационный характер. В демо-версии артикулы (номера деталей) скрыты. Если вы хотите видеть полные оригинальные номера запчастей, вам необходимо зарегистрироваться на нашем сайте и приобрести подписку по интересующей вас конфигурации, после этого вы сможете встроить онлайн-каталоги на ваш сайт или пользоваться ими из личного кабинета нашего сайта. Обращаем ваше внимание на то, что каталоги содержат информацию об оригинальных заводских номерах и названиях запчастей. База по аналогам в данный момент не реализована. Поиска по VIN-номерам в онлайн-каталоге не предусмотрено. Выбор конкретного каталога осуществляется путем открытия нужного типа техники, марки, модели с учетом года выпуска или модификации.