Каталог запасных частей к технике: Ford Windstar (2012). Крыша

1
1
2
2
3
4
4
5
6
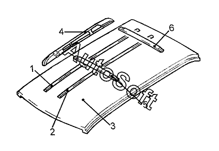
Позиция на иллюстрации | Заводской номер детали | Название детали | |
---|---|---|---|
1 | 4***5 | Накладка декоративная прав. наружн. | |
1 | 4***5 | Накладка декоративная лев. наружн. | |
2 | 4***5 | Накладка декоративная прав. | |
2 | 4***5 | Накладка декоративная лев. | |
3 | 3***0 | Крыша | |
4 | 3***8 | Рейка багажника на крыше прав. | |
4 | 3***0 | Рейка багажника на крыше лев. | |
5 | 4***5 | Поперечина | |
6 | 3***1 | Поперечина задн. |
Содержащиеся в справочниках-каталогах запасные части и детали не предлагаются к продаже, а носят исключительно информационный характер. В демо-версии артикулы (номера деталей) скрыты. Если вы хотите видеть полные оригинальные номера запчастей, вам необходимо зарегистрироваться на нашем сайте и приобрести подписку по интересующей вас конфигурации, после этого вы сможете встроить онлайн-каталоги на ваш сайт или пользоваться ими из личного кабинета нашего сайта. Обращаем ваше внимание на то, что каталоги содержат информацию об оригинальных заводских номерах и названиях запчастей. База по аналогам в данный момент не реализована. Поиска по VIN-номерам в онлайн-каталоге не предусмотрено. Выбор конкретного каталога осуществляется путем открытия нужного типа техники, марки, модели с учетом года выпуска или модификации.