Каталог запасных частей к технике: Ford Explorer Highclass (2012). Передняя часть кузова: капот, крылья, лобовое стекло

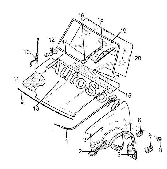
12
15
4
4
3
3
16
16
11
10
9
1
17
17
20
13
5
12
6
6
2
2
19
18
18
14
14
8
8
7
7
5
Позиция на иллюстрации | Заводской номер детали | Название детали | |
---|---|---|---|
1 | 4***6 | Тяга привода замка капота | |
2 | 3***6 | Подкрылок колеса прав. | |
2 | 3***4 | Подкрылок колеса лев. | |
3 | 4***0 | Крыло передн. прав. | |
3 | 4***5 | Крыло передн. лев. | |
4 | 4***7 | Накладка декоративная передн. прав. крыла | |
4 | 4***9 | Накладка декоративная передн. лев. крыла | |
5 | -***- | Брызговик передн. прав. | |
5 | -***- | Брызговик передн. лев. | |
6 | 3***6 | Накладка декоративная крыла прав. | |
6 | 3***7 | Накладка декоративная крыла лев. | |
7 | н***я | Накладка расширительная передн. прав. крыла задн. | |
7 | н***я | Накладка расширительная передн. лев. крыла задн. | |
8 | 1***9 | Фонарь боков. повторителя указателя поворота прав. | |
8 | 1***9 | Фонарь боков. повторителя указателя поворота лев. | |
9 | 3***9 | Уплотнитель капота передн. | |
10 | 3***9 | Антенна в сборе | |
11 | 4***5 | Шумоизоляция капота | |
12 | 3***1 | Шарнир передн. лев. | |
12 | 3***3 | Шарнир передн. прав. | |
13 | 4***1 | Капот | |
14 | 3***3 | Накладка декоративная прав. | |
14 | 3***4 | Накладка декоративная лев. | |
15 | 3***5 | Обтекатель передн. | |
16 | 4***9 | Рычаг стеклоочистителя прав. | |
16 | 4***9 | Рычаг стеклоочистителя лев. | |
17 | 3***7 | Форсунка омывателя лев. | |
17 | 3***6 | Форсунка омывателя прав. | |
18 | 1***7 | Щетка стеклоочистителя прав. | |
18 | 1***7 | Щетка стеклоочистителя лев. | |
19 | 4***7 | Накладка декоративная верхн. | |
20 | 4***2 | Стекло лобовое |
Содержащиеся в справочниках-каталогах запасные части и детали не предлагаются к продаже, а носят исключительно информационный характер. В демо-версии артикулы (номера деталей) скрыты. Если вы хотите видеть полные оригинальные номера запчастей, вам необходимо зарегистрироваться на нашем сайте и приобрести подписку по интересующей вас конфигурации, после этого вы сможете встроить онлайн-каталоги на ваш сайт или пользоваться ими из личного кабинета нашего сайта. Обращаем ваше внимание на то, что каталоги содержат информацию об оригинальных заводских номерах и названиях запчастей. База по аналогам в данный момент не реализована. Поиска по VIN-номерам в онлайн-каталоге не предусмотрено. Выбор конкретного каталога осуществляется путем открытия нужного типа техники, марки, модели с учетом года выпуска или модификации.