Каталог запасных частей к технике: Ford Explorer Highclass (2012). Дверь задняя

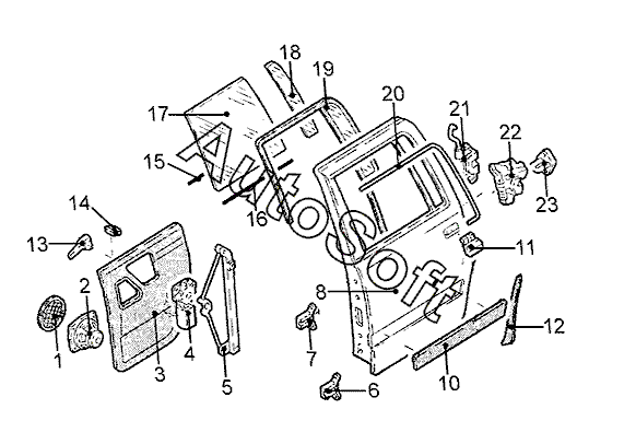
19
21
21
22
22
11
11
16
16
17
17
18
5
3
3
8
8
8
8
10
10
12
12
20
6
7
7
13
13
14
14
15
15
18
19
6
20
23
23
1
1
2
2
4
4
5
Позиция на иллюстрации | Заводской номер детали | Название детали | |
---|---|---|---|
1 | 4***1 | Кронштейн задн. прав. динамика | |
1 | 4***1 | Кронштейн задн. лев. динамика | |
2 | 3***9 | Динамик задн. прав. двери | |
2 | 3***9 | Динамик задн. лев. двери | |
3 | 4***0 | Обивка задн. прав. двери | |
3 | 4***5 | Обивка задн. лев. двери | |
4 | 3***7 | Двигатель стеклоподъемника задн. прав. | |
4 | 3***9 | Двигатель стеклоподъемника задн. лев. | |
5 | 3***0 | Стеклоподъемник задн. лев. | |
5 | 3***1 | Стеклоподъемник задн. прав. | |
6 | 3***2 | Петля задн. прав. двери нижн. | |
6 | 3***2 | Петля задн. лев. двери нижн. | |
7 | 4***2 | Петля задн. прав. двери верхн. | |
7 | 4***2 | Петля задн. лев. двери верхн. | |
8 | 3***8 | Панель задн. прав. двери наружн. | |
8 | 3***9 | Панель задн. лев. двери наружн. | |
8 | 4***6 | Дверь задн. прав. | |
8 | 4***7 | Дверь задн. лев. | |
10 | 4***7 | Накладка декоративная задн. прав. двери нижн. | |
10 | 4***0 | Накладка декоративная задн. лев. двери нижн. | |
11 | 3***1 | Ручка задн. лев. двери наружн. | |
11 | 3***1 | Ручка задн. двери прав. наружн. | |
12 | 3***9 | Накладка декоративная задн. прав. двери | |
12 | 3***1 | Накладка декоративная задн. лев. двери | |
13 | 3***7 | Ручка задн. прав. двери внутр. | |
13 | 3***9 | Ручка задн. двери лев. внутр. | |
14 | 3***8 | Переключатель стеклоподъемника задн. прав. | |
14 | 3***1 | Переключатель стеклоподъемника задн. лев. | |
15 | 4***8 | Уплотнитель шахты стекла прав. внутр. | |
15 | 4***9 | Уплотнитель шахты стекла лев. внутр. | |
16 | 4***4 | Уплотнитель шахты стекла прав. наружн. | |
16 | 4***5 | Уплотнитель шахты стекла лев. наружн. | |
17 | 3***4 | Стекло задн. прав. двери | |
17 | 3***5 | Стекло задн. лев. двери | |
18 | 4***6 | Стекло треугольное задн. прав. | |
18 | 4***7 | Стекло треугольное задн. лев. | |
19 | 4***6 | Направляющая стекла задн. прав. двери | |
19 | 4***7 | Направляющая стекла задн. лев. двери | |
20 | 4***0 | Накладка декоративная рамки стекла задн. прав. | |
20 | 4***1 | Накладка декоративная рамки стекла задн. лев. | |
21 | 3***3 | Двигатель центрального замка задн. прав. двери | |
21 | 3***3 | Двигатель центрального замка задн. лев. двери | |
22 | 3***3 | Замок задн. прав. двери | |
22 | 3***6 | Замок задн. лев. двери | |
23 | 4***2 | Штырь задн. прав. замка | |
23 | 4***2 | Штырь задн. лев. замка |
Содержащиеся в справочниках-каталогах запасные части и детали не предлагаются к продаже, а носят исключительно информационный характер. В демо-версии артикулы (номера деталей) скрыты. Если вы хотите видеть полные оригинальные номера запчастей, вам необходимо зарегистрироваться на нашем сайте и приобрести подписку по интересующей вас конфигурации, после этого вы сможете встроить онлайн-каталоги на ваш сайт или пользоваться ими из личного кабинета нашего сайта. Обращаем ваше внимание на то, что каталоги содержат информацию об оригинальных заводских номерах и названиях запчастей. База по аналогам в данный момент не реализована. Поиска по VIN-номерам в онлайн-каталоге не предусмотрено. Выбор конкретного каталога осуществляется путем открытия нужного типа техники, марки, модели с учетом года выпуска или модификации.