Каталог запасных частей к технике: Ford Ranger 2.5 D 4x4 (2012). Система охлаждения

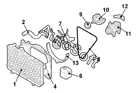
1
2
2
4
5
6
7
8
9
10
11
12
13
Позиция на иллюстрации | Заводской номер детали | Название детали | |
---|---|---|---|
1 | 4***0 | Радиатор | |
2 | 3***5 | Шланг радиатора нижн. | |
2 | 4***9 | Шланг радиатора верхн. | |
4 | 3***0 | Кожух радиатора верхн. | |
5 | 4***9 | Муфта вентилятора | |
6 | 4***6 | Бачок сливной | |
7 | 3***3 | Крыльчатка вентилятора | |
8 | 3***X | Ремень клиновой | |
9 | 3***3 | Шкив водяного насоса | |
10 | 3***3 | Насос водяной | |
11 | 3***4 | Генератор | |
12 | 3***8 | Натяжитель ремня | |
13 | 3***8 | Кожух радиатора нижн. |
Содержащиеся в справочниках-каталогах запасные части и детали не предлагаются к продаже, а носят исключительно информационный характер. В демо-версии артикулы (номера деталей) скрыты. Если вы хотите видеть полные оригинальные номера запчастей, вам необходимо зарегистрироваться на нашем сайте и приобрести подписку по интересующей вас конфигурации, после этого вы сможете встроить онлайн-каталоги на ваш сайт или пользоваться ими из личного кабинета нашего сайта. Обращаем ваше внимание на то, что каталоги содержат информацию об оригинальных заводских номерах и названиях запчастей. База по аналогам в данный момент не реализована. Поиска по VIN-номерам в онлайн-каталоге не предусмотрено. Выбор конкретного каталога осуществляется путем открытия нужного типа техники, марки, модели с учетом года выпуска или модификации.