Каталог запасных частей к технике: Ford FT 150 D (2012). Крыша (вариант высокого кузова)

9
5
3
3
13
12
12
11
11
10
1
9
8
7
6
6
4
4
2
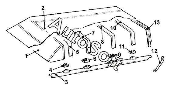
Позиция на иллюстрации | Заводской номер детали | Название детали | |
---|---|---|---|
1 | 1***4 | Облицовка крыши передн. | |
2 | 1***3 | Облицовка крыши | |
3 | 1***6 | Усилитель рамы крыши прав. | |
3 | 1***1 | Усилитель рамы крыши лев. | |
4 | 1***2 | Кронштейн рамы крыши прав. | |
4 | 1***2 | Кронштейн рамы крыши лев. | |
5 | 1***3 | Рама крыши | |
6 | 1***2 | Кронштейн рамы крыши прав. | |
6 | 1***2 | Кронштейн рамы крыши лев. | |
7 | 1***3 | Рама крыши | |
8 | 1***3 | Рама крыши | |
9 | 1***2 | Кронштейн рамы крыши прав. | |
9 | 1***2 | Кронштейн рамы крыши лев. | |
10 | 1***3 | Рама крыши | |
11 | 1***2 | Кронштейн рамы крыши прав. | |
11 | 1***2 | Кронштейн рамы крыши лев. | |
12 | 1***9 | Усилитель рамы крыши задн. прав. | |
12 | 1***9 | Усилитель рамы крыши задн. лев. | |
13 | 6***5 | Рама крыши, задн. часть |
Содержащиеся в справочниках-каталогах запасные части и детали не предлагаются к продаже, а носят исключительно информационный характер. В демо-версии артикулы (номера деталей) скрыты. Если вы хотите видеть полные оригинальные номера запчастей, вам необходимо зарегистрироваться на нашем сайте и приобрести подписку по интересующей вас конфигурации, после этого вы сможете встроить онлайн-каталоги на ваш сайт или пользоваться ими из личного кабинета нашего сайта. Обращаем ваше внимание на то, что каталоги содержат информацию об оригинальных заводских номерах и названиях запчастей. База по аналогам в данный момент не реализована. Поиска по VIN-номерам в онлайн-каталоге не предусмотрено. Выбор конкретного каталога осуществляется путем открытия нужного типа техники, марки, модели с учетом года выпуска или модификации.