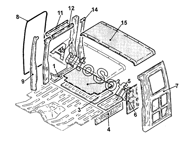
Каталог запасных частей к технике: Ford FT 190 L D (2012). Основание и обивка салона сдвоенной кабины

1
2
3
5
5
6
8
9
11
12
13
14
4
4
7
15
Позиция на иллюстрации | Заводской номер детали | Название детали | |
---|---|---|---|
1 | 6***6 | Порог сдвижной двери прав. | |
2 | 1***4 | Облицовка основания задн. | |
3 | 6***1 | Основание задн. | |
4 | 1***1 | Усилитель прав. боковины | |
4 | 1***2 | Усилитель лев. боковины | |
5 | 6***8 | Накладка боков. задн. лев. | |
5 | 6***2 | Накладка боков. задн. прав. | |
6 | 1***9 | Облицовка боковины передн. лев. | |
7 | 1***2 | Боковина лев. внутр. часть | |
8 | 1***9 | Уплотнитель задн. прав. двери | |
9 | 6***9 | Стойка средн. прав. | |
11 | 6***8 | Рама крыши наружн. часть | |
12 | 6***8 | Рама крыши, лев. внутр. часть | |
13 | 6***5 | Стойка задн. | |
14 | 1***5 | Усилитель задн. прав. стойки | |
15 | 1***0 | Облицовка крыши задн.часть |
Содержащиеся в справочниках-каталогах запасные части и детали не предлагаются к продаже, а носят исключительно информационный характер. В демо-версии артикулы (номера деталей) скрыты. Если вы хотите видеть полные оригинальные номера запчастей, вам необходимо зарегистрироваться на нашем сайте и приобрести подписку по интересующей вас конфигурации, после этого вы сможете встроить онлайн-каталоги на ваш сайт или пользоваться ими из личного кабинета нашего сайта. Обращаем ваше внимание на то, что каталоги содержат информацию об оригинальных заводских номерах и названиях запчастей. База по аналогам в данный момент не реализована. Поиска по VIN-номерам в онлайн-каталоге не предусмотрено. Выбор конкретного каталога осуществляется путем открытия нужного типа техники, марки, модели с учетом года выпуска или модификации.