Каталог запасных частей к технике: Ford FT 280 K 2.2 TDCI Basis (2012). Двери 3

9
12
17
16
15
14
13
11
10
1
8
7
6
5
4
3
2
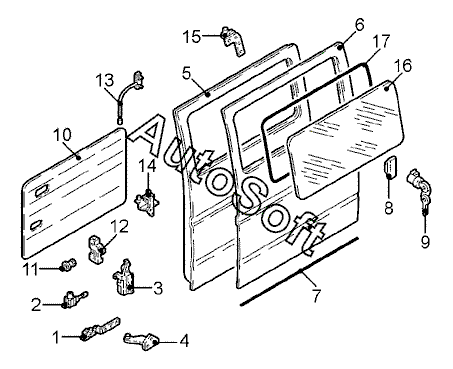
Позиция на иллюстрации | Заводской номер детали | Название детали | |
---|---|---|---|
1 | 4***5 | Ограничитель двери лев. | |
2 | 4***4 | Двигатель центрального замка задн. лев. двери | |
3 | 1***8 | Замок задн. лев. двери нижн. | |
4 | 4***6 | Ролик направляющий лев. нижн. | |
5 | 4***8 | Дверь сдвижная лев. | |
6 | 4***2 | Панель сдвижной двери лев. наружн. | |
7 | 4***0 | Уплотнитель лев. сдвижной двери нижн. | |
8 | 1***5 | Ручка задн. лев. двери наружн. | |
9 | 4***1 | Цилиндр задн. лев. замка | |
10 | 1***5 | Облицовка задн. лев. двери | |
11 | 4***4 | Штырь замка задн. лев. | |
12 | 1***0 | Замок задн. лев. двери | |
13 | 1***5 | Ручка задн. двери лев. внутр. | |
14 | 4***8 | Ролик направляющий средн. лев. | |
15 | 4***4 | Ролик направляющий лев. верхн. | |
16 | 4***5 | Стекло задн. лев. двери | |
17 | 4***6 | Уплотнитель стекла задн. лев. двери |
Содержащиеся в справочниках-каталогах запасные части и детали не предлагаются к продаже, а носят исключительно информационный характер. В демо-версии артикулы (номера деталей) скрыты. Если вы хотите видеть полные оригинальные номера запчастей, вам необходимо зарегистрироваться на нашем сайте и приобрести подписку по интересующей вас конфигурации, после этого вы сможете встроить онлайн-каталоги на ваш сайт или пользоваться ими из личного кабинета нашего сайта. Обращаем ваше внимание на то, что каталоги содержат информацию об оригинальных заводских номерах и названиях запчастей. База по аналогам в данный момент не реализована. Поиска по VIN-номерам в онлайн-каталоге не предусмотрено. Выбор конкретного каталога осуществляется путем открытия нужного типа техники, марки, модели с учетом года выпуска или модификации.