Каталог запасных частей к технике: Opel Corsa Swing (2012). Дверь задняя

9
19
19
1
1
7
7
8
8
9
18
4
4
11
11
2
2
6
6
14
3
5
5
10
10
12
12
13
13
3
14
15
15
16
16
17
17
18
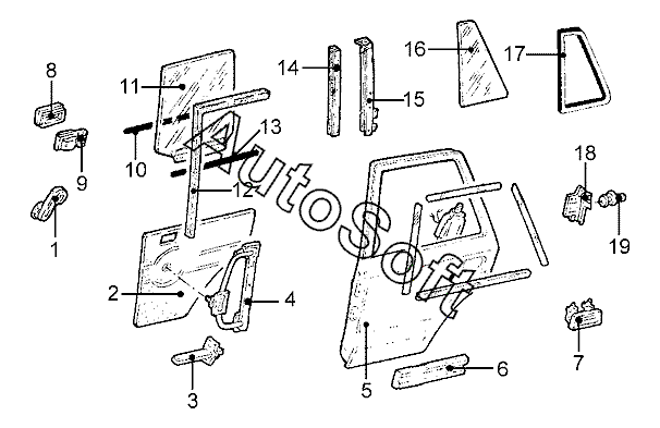
Позиция на иллюстрации | Заводской номер детали | Название детали | |
---|---|---|---|
1 | 0***5 | Ручка стеклоподъемника задн. прав. | |
1 | 0***5 | Ручка стеклоподъемника задн. лев. | |
2 | 2***6 | Обивка задн. лев. двери | |
2 | 2***8 | Обивка задн. прав. двери | |
3 | 0***3 | Ограничитель задн. прав. двери | |
3 | 0***3 | Ограничитель задн. лев. двери | |
4 | 0***1 | Стеклоподъемник задн. лев. | |
4 | 0***2 | Стеклоподъемник задн. прав. | |
5 | 0***0 | Дверь задн. лев. | |
5 | 0***9 | Дверь задн. прав. | |
6 | 0***0 | Накладка декоративная задн. прав. двери | |
6 | 0***1 | Накладка декоративная задн. лев. двери | |
7 | 0***1 | Ручка задн. лев. двери наружн. | |
7 | 0***2 | Ручка задн. двери прав. наружн. | |
8 | 0***4 | Розетка задн. прав. внутр. ручки | |
8 | 0***4 | Розетка задн. лев. внутр. ручки | |
9 | 0***7 | Ручка задн. двери лев. внутр. | |
9 | 0***1 | Ручка задн. двери прав. внутр. | |
10 | 0***4 | Уплотнитель шахты стекла лев. внутр. | |
10 | 0***5 | Уплотнитель шахты стекла прав. внутр. | |
11 | 0***9 | Стекло задн. прав. двери | |
11 | 0***6 | Стекло задн. лев. двери | |
12 | 0***2 | Направляющая стекла передн. лев. двери | |
12 | 0***3 | Направляющая стекла передн. прав. двери | |
13 | 0***6 | Уплотнитель шахты стекла лев. наружн. | |
13 | 0***7 | Уплотнитель шахты стекла прав. наружн. | |
14 | 0***2 | Направляющая стекла задн. прав. двери | |
14 | 0***2 | Направляющая стекла задн. лев. двери | |
15 | 0***0 | Направляющая задн. лев. | |
15 | 0***1 | Направляющая задн. прав. | |
16 | 0***6 | Стекло треугольное задн. лев. | |
16 | 0***7 | Стекло треугольное задн. прав. | |
17 | 0***0 | Уплотнитель лев. треугольного стекла | |
17 | 0***1 | Уплотнитель прав. треугольного стекла | |
18 | 0***4 | Замок задн. лев. двери | |
18 | 0***5 | Замок задн. прав. двери | |
19 | 0***1 | Штырь замка задн. прав. двери | |
19 | 0***1 | Штырь замка задн. лев. двери |
Содержащиеся в справочниках-каталогах запасные части и детали не предлагаются к продаже, а носят исключительно информационный характер. В демо-версии артикулы (номера деталей) скрыты. Если вы хотите видеть полные оригинальные номера запчастей, вам необходимо зарегистрироваться на нашем сайте и приобрести подписку по интересующей вас конфигурации, после этого вы сможете встроить онлайн-каталоги на ваш сайт или пользоваться ими из личного кабинета нашего сайта. Обращаем ваше внимание на то, что каталоги содержат информацию об оригинальных заводских номерах и названиях запчастей. База по аналогам в данный момент не реализована. Поиска по VIN-номерам в онлайн-каталоге не предусмотрено. Выбор конкретного каталога осуществляется путем открытия нужного типа техники, марки, модели с учетом года выпуска или модификации.