Меню Закрыть

Демо

Каталог запасных частей к технике: Opel Corsa City (2012). Основание/Обивка салона

zoom-in zoom-out enlarge shrink circle-right circle-left file-text2 info cart
1
2
2
3
3
4
4
5
6
7
8
8
9
10
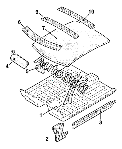
Позиция на иллюстрации Заводской номер детали Название детали
1 -***- Основание кузова
2 2***0 Облицовка передн. прав. стойки нижн.
2 2***1 Облицовка передн. лев. стойки нижн.
3 2***8 Накладка порога прав.
3 2***9 Накладка порога лев.
4 1***4 Козырек солнцезащитный прав.
4 1***7 Козырек солнцезащитный лев.
5 6***3 Зеркало внутр.
6 0***3 Рама крыши, передн. часть
7 2***6 Облицовка крыши
8 2***1 Облицовка передн. лев. стойки верхн.
8 2***2 Облицовка передн. прав. стойки верхн.
9 0***6 Рама крыши, средн. часть
10 0***4 Рама крыши, задн. часть
Содержащиеся в справочниках-каталогах запасные части и детали не предлагаются к продаже, а носят исключительно информационный характер. В демо-версии артикулы (номера деталей) скрыты. Если вы хотите видеть полные оригинальные номера запчастей, вам необходимо зарегистрироваться на нашем сайте и приобрести подписку по интересующей вас конфигурации, после этого вы сможете встроить онлайн-каталоги на ваш сайт или пользоваться ими из личного кабинета нашего сайта. Обращаем ваше внимание на то, что каталоги содержат информацию об оригинальных заводских номерах и названиях запчастей. База по аналогам в данный момент не реализована. Поиска по VIN-номерам в онлайн-каталоге не предусмотрено. Выбор конкретного каталога осуществляется путем открытия нужного типа техники, марки, модели с учетом года выпуска или модификации.