Каталог запасных частей к технике: Opel Corsa 1.3 CDTI Sport (2012). Люк крыши

1
2
3
4
5
6
7
8
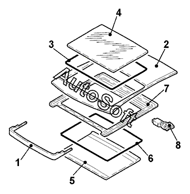
Позиция на иллюстрации | Заводской номер детали | Название детали | |
---|---|---|---|
1 | 0***2 | Обтекатель люка крыши | |
2 | 0***3 | Крыша | |
3 | 0***1 | Уплотнитель сдвижного люка крыши внутр. | |
4 | 5***2 | Крышка сдвижного люка крыши | |
5 | 0***3 | Козырек солнцезащитный сдвижного люка крыши | |
6 | 5***7 | Уплотнитель сдвижного люка крыши | |
7 | 5***9 | Механизм привода | |
8 | 6***5 | Двигатель крышки сдвижного люка |
Содержащиеся в справочниках-каталогах запасные части и детали не предлагаются к продаже, а носят исключительно информационный характер. В демо-версии артикулы (номера деталей) скрыты. Если вы хотите видеть полные оригинальные номера запчастей, вам необходимо зарегистрироваться на нашем сайте и приобрести подписку по интересующей вас конфигурации, после этого вы сможете встроить онлайн-каталоги на ваш сайт или пользоваться ими из личного кабинета нашего сайта. Обращаем ваше внимание на то, что каталоги содержат информацию об оригинальных заводских номерах и названиях запчастей. База по аналогам в данный момент не реализована. Поиска по VIN-номерам в онлайн-каталоге не предусмотрено. Выбор конкретного каталога осуществляется путем открытия нужного типа техники, марки, модели с учетом года выпуска или модификации.