Каталог запасных частей к технике: Opel Meriva 1.6 16V Edition (2012). Двери 4

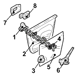
1
1
4
4
5
5
6
6
8
8
3
3
2
2
7
7
Позиция на иллюстрации | Заводской номер детали | Название детали | |
---|---|---|---|
1 | 0***6 | Ручка стеклоподъемника задн. прав. | |
1 | 0***6 | Ручка стеклоподъемника задн. лев. | |
2 | 7***2 | Обивка задн. лев. двери | |
2 | 7***2 | Обивка задн. прав. двери | |
3 | 1***1 | Динамик задн. прав. двери нижн. | |
3 | 1***1 | Динамик задн. лев. двери нижн. | |
4 | 1***7 | Динамик задн. прав. двери верхн. | |
4 | 1***7 | Динамик задн. лев. двери верхн. | |
5 | 7***X | Шумоизоляция задн. прав. двери | |
5 | 7***X | Шумоизоляция задн. лев. двери | |
6 | 5***1 | Стеклоподъемник задн. лев. | |
6 | 5***2 | Стеклоподъемник задн. прав. | |
7 | 2***4 | Накладка ручки задн. прав. двери | |
7 | 2***5 | Накладка ручки задн. лев. двери | |
8 | 0***3 | Ручка задн. двери лев. внутр. | |
8 | 0***4 | Ручка задн. двери прав. внутр. |
Содержащиеся в справочниках-каталогах запасные части и детали не предлагаются к продаже, а носят исключительно информационный характер. В демо-версии артикулы (номера деталей) скрыты. Если вы хотите видеть полные оригинальные номера запчастей, вам необходимо зарегистрироваться на нашем сайте и приобрести подписку по интересующей вас конфигурации, после этого вы сможете встроить онлайн-каталоги на ваш сайт или пользоваться ими из личного кабинета нашего сайта. Обращаем ваше внимание на то, что каталоги содержат информацию об оригинальных заводских номерах и названиях запчастей. База по аналогам в данный момент не реализована. Поиска по VIN-номерам в онлайн-каталоге не предусмотрено. Выбор конкретного каталога осуществляется путем открытия нужного типа техники, марки, модели с учетом года выпуска или модификации.