Каталог запасных частей к технике: Opel Tigra 1.6i 16V (2012). Передняя часть кузова: бампер, фары, решетка радиатора

9
3
14
13
13
12
12
11
11
10
1
8
7
7
6
5
5
4
2
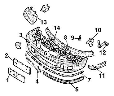
Позиция на иллюстрации | Заводской номер детали | Название детали | |
---|---|---|---|
1 | -***- | Знак номерной передн. | |
2 | -***- | Усилитель крепления передн. номерного знака | |
3 | 1***8 | Панель облицовки передка | |
4 | 1***0 | Усилитель надставки средн. | |
5 | 1***0 | Надставка панели облицовки передка прав. | |
5 | 1***1 | Надставка панели облицовки передка лев. | |
6 | 1***2 | Вставка воздуховода | |
7 | 1***8 | Усилитель надставки прав. | |
7 | 1***9 | Усилитель надставки лев. | |
8 | 1***3 | Буфер передн. | |
9 | 1***3 | Цапфа направляющая | |
10 | 1***3 | Защелка капота | |
11 | 1***2 | Кронштейн панели облицовки передка прав. наружн. | |
11 | 1***3 | Кронштейн панели облицовки передка лев. наружн. | |
12 | 1***6 | Кронштейн панели облицовки передка прав. внутр. | |
12 | 1***7 | Кронштейн панели облицовки передка лев. внутр. | |
13 | 1***3 | Фара лев. | |
13 | 1***4 | Фара прав. | |
14 | 1***4 | Усилитель панели облицовки передка |
Содержащиеся в справочниках-каталогах запасные части и детали не предлагаются к продаже, а носят исключительно информационный характер. В демо-версии артикулы (номера деталей) скрыты. Если вы хотите видеть полные оригинальные номера запчастей, вам необходимо зарегистрироваться на нашем сайте и приобрести подписку по интересующей вас конфигурации, после этого вы сможете встроить онлайн-каталоги на ваш сайт или пользоваться ими из личного кабинета нашего сайта. Обращаем ваше внимание на то, что каталоги содержат информацию об оригинальных заводских номерах и названиях запчастей. База по аналогам в данный момент не реализована. Поиска по VIN-номерам в онлайн-каталоге не предусмотрено. Выбор конкретного каталога осуществляется путем открытия нужного типа техники, марки, модели с учетом года выпуска или модификации.