Каталог запасных частей к технике: Opel Tigra Color Line Arden (2012). Панель задка/Задний бампер

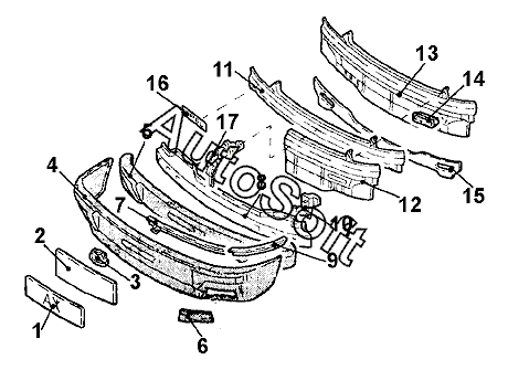
10
17
16
16
15
14
13
12
12
11
10
1
9
9
8
7
7
6
5
4
3
2
Позиция на иллюстрации | Заводской номер детали | Название детали | |
---|---|---|---|
1 | -***- | Знак номерной задн. | |
2 | -***- | Усилитель задн. номерного знака | |
3 | 1***1 | Фонарь освещения номерного знака | |
4 | 1***6 | Панель облицовки задка | |
5 | 1***4 | Буфер задн. | |
6 | 1***5 | Крышка буксирной проушины | |
7 | 1***5 | Накладка панели облицовки задка средн. лев. | |
7 | 1***6 | Накладка панели облицовки задка средн. прав. | |
8 | 1***3 | Кронштейн панели облицовки задка | |
9 | 1***4 | Накладка панели облицовки задка прав. наружн. | |
9 | 1***7 | Накладка панели облицовки задка лев. наружн. | |
10 | 1***8 | Кронштейн облицовки задка прав. | |
10 | 1***9 | Кронштейн облицовки задка лев. | |
11 | 0***7 | Панельзадка, нижн. часть | |
12 | 0***8 | Панель задка прав. нижн. | |
12 | 0***9 | Панель задка лев. нижн. | |
13 | 0***7 | Панель задка с усилителем нижн. | |
14 | 0***7 | Вставка воздухозаборника прав. | |
15 | 0***6 | Надставка панели задка | |
16 | 0***1 | Надпись OPEL | |
16 | 0***3 | Надпись TIGRA | |
17 | 5***1 | Цилиндр задн. замка |
Содержащиеся в справочниках-каталогах запасные части и детали не предлагаются к продаже, а носят исключительно информационный характер. В демо-версии артикулы (номера деталей) скрыты. Если вы хотите видеть полные оригинальные номера запчастей, вам необходимо зарегистрироваться на нашем сайте и приобрести подписку по интересующей вас конфигурации, после этого вы сможете встроить онлайн-каталоги на ваш сайт или пользоваться ими из личного кабинета нашего сайта. Обращаем ваше внимание на то, что каталоги содержат информацию об оригинальных заводских номерах и названиях запчастей. База по аналогам в данный момент не реализована. Поиска по VIN-номерам в онлайн-каталоге не предусмотрено. Выбор конкретного каталога осуществляется путем открытия нужного типа техники, марки, модели с учетом года выпуска или модификации.