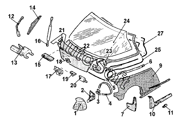
Каталог запасных частей к технике: Opel Tigra Wave 1.4 (2012). Задняя боковина/Фонари/Дверь задка

23
14
15
16
16
17
18
19
21
22
13
24
25
26
26
27
27
20
9
9
6
1
2
2
3
3
4
4
5
5
1
6
7
7
7
10
10
11
11
12
Позиция на иллюстрации | Заводской номер детали | Название детали | |
---|---|---|---|
1 | 1***5 | Фонарь задн. лев. | |
1 | 1***6 | Фонарь задн. прав. | |
2 | 1***2 | Кронштейн задн. прав. фонаря | |
2 | 1***3 | Кронштейн задн. лев. фонаря | |
3 | 6***4 | Пластина/плата контактная задн. прав. | |
3 | 6***7 | Пластина/плата контактная задн. лев. | |
4 | 5***7 | Вставка задн. фонаря | |
4 | 5***8 | Вставка задн. фонаря | |
5 | 0***4 | Усилитель прав. | |
5 | 0***3 | Усилитель лев. | |
6 | 0***1 | Канал для стока воды лев. | |
6 | 0***2 | Канал для стока воды прав. | |
7 | -***- | Брызговик задн. прав. | |
7 | -***- | Брызговик задн. лев. | |
7 | 1***5 | Брызговик задн. (к-кт) | |
9 | 0***7 | Боковина задн. прав. | |
9 | 0***8 | Боковина лев., задн. часть | |
10 | 0***3 | Спойлер задн. лев. боков. | |
10 | 0***4 | Спойлер задн. прав. боков. | |
11 | 5***4 | Накладка боков. спойлера | |
11 | 5***5 | Накладка боков. спойлера | |
12 | 1***5 | Рычаг задн. стеклоочистителя | |
13 | 1***6 | Двигатель задн. стеклоочистителя | |
14 | 1***0 | Щетка стеклоочистителя задка | |
15 | 1***0 | Фонарь сигнала торможения дополнительный | |
16 | 0***6 | Амортизатор задн. прав. | |
16 | 0***3 | Амортизатор задн. лев. | |
17 | 0***7 | Замок двери задка | |
18 | 0***8 | Эмблема изготовителя задн. | |
19 | 0***2 | Скоба задн. замка | |
20 | 1***9 | Двигатель центрального замка двери задка | |
21 | 5***3 | Спойлер задн. | |
22 | 0***0 | Уплотнитель задн спойлера | |
23 | 0***1 | Дверь задка | |
24 | 0***4 | Стекло задка обогрев. тонир. | |
25 | 0***2 | Уплотнитель двери задка | |
26 | 0***8 | Щиток водозащитный задн. прав. нижн. | |
26 | 0***9 | Щиток водозащитный задн. лев. нижн. | |
27 | 0***5 | Щиток водозащитный задн. лев. верхн. | |
27 | 0***6 | Щиток водозащитный задн. прав. верхн. |
Содержащиеся в справочниках-каталогах запасные части и детали не предлагаются к продаже, а носят исключительно информационный характер. В демо-версии артикулы (номера деталей) скрыты. Если вы хотите видеть полные оригинальные номера запчастей, вам необходимо зарегистрироваться на нашем сайте и приобрести подписку по интересующей вас конфигурации, после этого вы сможете встроить онлайн-каталоги на ваш сайт или пользоваться ими из личного кабинета нашего сайта. Обращаем ваше внимание на то, что каталоги содержат информацию об оригинальных заводских номерах и названиях запчастей. База по аналогам в данный момент не реализована. Поиска по VIN-номерам в онлайн-каталоге не предусмотрено. Выбор конкретного каталога осуществляется путем открытия нужного типа техники, марки, модели с учетом года выпуска или модификации.