Каталог запасных частей к технике: Opel Tigra Wave 1.4 (2012). Двери

15
21
22
22
23
24
24
25
28
28
6
13
13
15
21
11
11
12
12
23
26
26
27
27
6
14
14
25
9
1
2
2
3
3
4
4
5
5
7
7
8
8
1
9
10
10
16
16
17
17
18
18
19
19
20
20
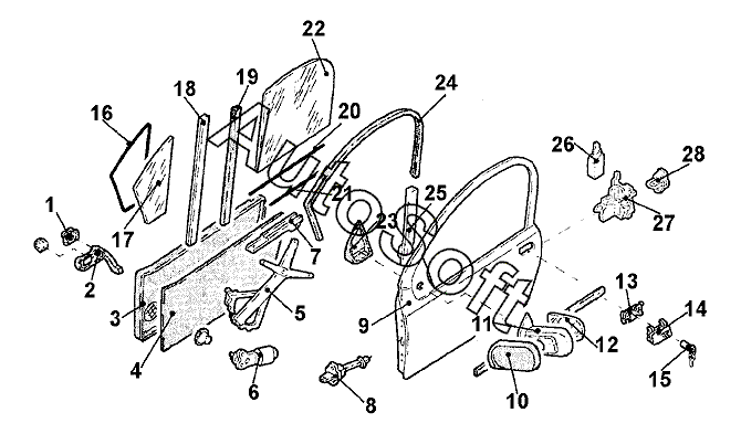
Позиция на иллюстрации | Заводской номер детали | Название детали | |
---|---|---|---|
1 | 0***6 | Ручка передн. двери прав. внутр. | |
1 | 0***7 | Ручка передн. двери лев. внутр. | |
2 | 2***8 | Ручка двери прав. | |
2 | 2***9 | Ручка двери лев. | |
3 | 7***7 | Облицовка лев. двери | |
3 | 7***3 | Облицовка прав. двери | |
4 | 7***X | Шумоизоляция прав. двери | |
4 | 7***X | Шумоизоляция двери лев. | |
5 | 0***4 | Стеклоподъемник прав. | |
5 | 0***7 | Стеклоподъемник лев. | |
6 | 6***3 | Двигатель лев. стеклоподъемника | |
6 | 6***8 | Двигатель прав. стеклоподъемника | |
7 | 0***7 | Направляющая стекла прав. | |
7 | 0***7 | Направляющая стекла лев. | |
8 | 5***0 | Ограничитель двери прав. | |
8 | 5***0 | Ограничитель двери лев. | |
9 | 0***4 | Дверь лев. | |
9 | 0***9 | Дверь прав. | |
10 | 1***1 | Облицовка лев. наружн. зеркала | |
10 | 1***2 | Облицовка прав. наружн. зеркала | |
11 | 1***2 | Зеркало прав. наружн. | |
11 | 1***1 | Зеркало лев. наружн. | |
12 | 1***6 | Стекло прав. наружн. зеркала | |
12 | 1***8 | Стекло лев. наружн. зеркала | |
13 | 0***1 | Кронштейн ручки двери лев. | |
13 | 0***2 | Кронштейн ручки двери прав. | |
14 | 5***2 | Ручка двери лев. наружн. | |
14 | 5***3 | Ручка двери прав. наружн. | |
15 | 5***9 | Цилиндр передн. прав. замка | |
15 | 5***9 | Цилиндр передн. лев. замка | |
16 | 5***1 | Уплотнитель передн. лев. треугольного стекла | |
16 | 5***2 | Уплотнитель передн. прав. треугольного стекла | |
17 | 0***8 | Стекло треугольное передн. прав. тонир. | |
17 | 0***0 | Стекло треугольное передн. лев. тонир. | |
18 | 5***1 | Направляющая передн. лев. | |
18 | 5***2 | Направляющая передн. прав. | |
19 | 5***0 | Направляющая стекла двери прав. нижн. | |
19 | 5***1 | Направляющая стекла двери лев. нижн. | |
20 | 0***7 | Уплотнитель шахты стекла лев. внутр. | |
20 | 0***8 | Уплотнитель шахты стекла прав. внутр. | |
21 | 5***6 | Уплотнитель шахты стекла прав. наружн. | |
21 | 5***7 | Уплотнитель шахты стекла лев. наружн. | |
22 | 0***9 | Стекло двери лев. тонир. | |
22 | 0***1 | Стекло прав. двери тонир. | |
23 | 0***6 | Вставка угловая прав. внутр. | |
23 | 0***7 | Вставка угловая лев. внутр. | |
24 | 5***8 | Направляющая стекла двери прав. | |
24 | 5***9 | Направляющая стекла двери лев. | |
25 | 0***6 | Направляющая задн. лев. | |
25 | 0***7 | Направляющая задн. прав. | |
26 | 1***2 | Двигатель центрального замка | |
26 | 1***3 | Двигатель центрального замка | |
27 | 0***6 | Замок лев. двери | |
27 | 0***7 | Замок прав. двери | |
28 | 0***2 | Скоба прав. замка | |
28 | 0***2 | Скоба лев. замка |
Содержащиеся в справочниках-каталогах запасные части и детали не предлагаются к продаже, а носят исключительно информационный характер. В демо-версии артикулы (номера деталей) скрыты. Если вы хотите видеть полные оригинальные номера запчастей, вам необходимо зарегистрироваться на нашем сайте и приобрести подписку по интересующей вас конфигурации, после этого вы сможете встроить онлайн-каталоги на ваш сайт или пользоваться ими из личного кабинета нашего сайта. Обращаем ваше внимание на то, что каталоги содержат информацию об оригинальных заводских номерах и названиях запчастей. База по аналогам в данный момент не реализована. Поиска по VIN-номерам в онлайн-каталоге не предусмотрено. Выбор конкретного каталога осуществляется путем открытия нужного типа техники, марки, модели с учетом года выпуска или модификации.