Каталог запасных частей к технике: Opel Kadett E Caravan LS (2012). Лобовое стекло и крыша

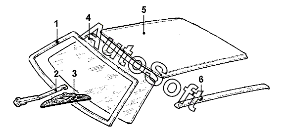
1
2
2
3
3
4
5
6
6
Позиция на иллюстрации | Заводской номер детали | Название детали | |
---|---|---|---|
1 | 0***4 | Накладка декоративная лобового стекла | |
2 | 1***7 | Рычаг стеклоочистителя передн. прав. | |
2 | 1***7 | Рычаг стеклоочистителя передн. лев. | |
3 | 1***7 | Щетка стеклоочистителя передн. прав. | |
3 | 1***7 | Щетка стеклоочистителя передн. лев. | |
4 | 0***2 | Стекло лобовое трехслойное | |
5 | 0***9 | Крыша | |
6 | 0***7 | Накладка облицовочная крыши лев. | |
6 | 0***8 | Накладка облицовочная крыши прав. |
Содержащиеся в справочниках-каталогах запасные части и детали не предлагаются к продаже, а носят исключительно информационный характер. В демо-версии артикулы (номера деталей) скрыты. Если вы хотите видеть полные оригинальные номера запчастей, вам необходимо зарегистрироваться на нашем сайте и приобрести подписку по интересующей вас конфигурации, после этого вы сможете встроить онлайн-каталоги на ваш сайт или пользоваться ими из личного кабинета нашего сайта. Обращаем ваше внимание на то, что каталоги содержат информацию об оригинальных заводских номерах и названиях запчастей. База по аналогам в данный момент не реализована. Поиска по VIN-номерам в онлайн-каталоге не предусмотрено. Выбор конкретного каталога осуществляется путем открытия нужного типа техники, марки, модели с учетом года выпуска или модификации.