Меню Закрыть

Демо

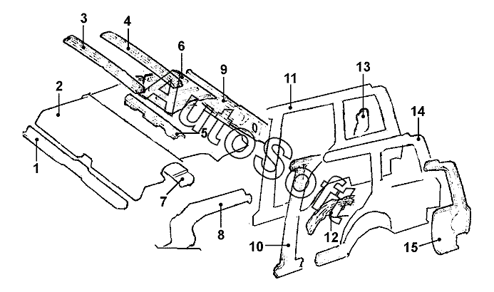
Каталог запасных частей к технике: Opel Kadett E Caravan GL (2012). Пол багажника и облицовка задней боковины (вариант универсал)

zoom-in zoom-out enlarge shrink circle-right circle-left file-text2 info cart
11
2
15
15
14
14
13
13
12
12
11
1
10
10
9
8
8
7
6
5
4
3
Позиция на иллюстрации Заводской номер детали Название детали
1 0***3 Поперечина задн.
2 0***5 Основание задн.
3 0***7 Дуга крыши средн.
4 0***6 Дуга крыши задн.
5 0***2 Поперечина основания багажника
6 0***7 Щиток пола задн.
7 0***5 Поперечина амортизатора
8 0***7 Лонжерон задн. прав.
8 0***6 Лонжерон задн. лев.
9 0***8 Поперечина панели задка нижн.
10 0***8 Стойка средн. лев., внутр. часть
10 0***9 Стойка средн. прав., внутр. часть
11 0***4 Боковина лев. внутр. часть
11 0***5 Боковина прав. внутр. часть
12 1***0 Арка задн. колеса лев. внутр.
12 1***0 Арка задн. колеса прав. внутр.
13 0***0 Надставка задн. лев.
13 0***1 Надставка задн. прав.
14 0***0 Боковина лев. средн. внутр. часть
14 0***1 Боковина прав., средн. внутр. часть
15 0***6 Боковина лев. задн. внутр. часть
15 0***0 Боковина прав. задн. внутр. часть
Содержащиеся в справочниках-каталогах запасные части и детали не предлагаются к продаже, а носят исключительно информационный характер. В демо-версии артикулы (номера деталей) скрыты. Если вы хотите видеть полные оригинальные номера запчастей, вам необходимо зарегистрироваться на нашем сайте и приобрести подписку по интересующей вас конфигурации, после этого вы сможете встроить онлайн-каталоги на ваш сайт или пользоваться ими из личного кабинета нашего сайта. Обращаем ваше внимание на то, что каталоги содержат информацию об оригинальных заводских номерах и названиях запчастей. База по аналогам в данный момент не реализована. Поиска по VIN-номерам в онлайн-каталоге не предусмотрено. Выбор конкретного каталога осуществляется путем открытия нужного типа техники, марки, модели с учетом года выпуска или модификации.