Каталог запасных частей к технике: Opel Kadett Cabrio Edition Fun (2012). Передняя часть кузова: бампер, фары, решетка радиатора, капот, крылья

6
16
18
18
20
20
23
25
25
26
26
16
17
17
24
19
19
21
21
22
22
9
1
2
2
3
3
4
5
7
8
8
1
10
10
11
12
13
14
14
15
15
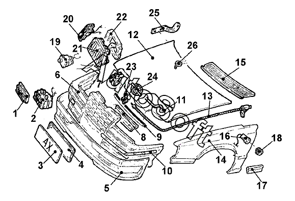
Позиция на иллюстрации | Заводской номер детали | Название детали | |
---|---|---|---|
1 | 1***6 | Стекло противотуманной фары лев. | |
1 | 1***7 | Стекло противотуманного фары прав. | |
2 | 1***4 | Фара противотуманная лев. | |
2 | 1***5 | Фара противотуманная прав. | |
3 | -***- | Знак номерной передн. отражающий | |
3 | -***- | Знак номерной передн. | |
4 | -***- | Усилитель крепления передн. номерного знака | |
5 | 1***7 | Спойлер передн. | |
6 | 1***7 | Панель облицовки передка | |
7 | 1***8 | Защелка капота | |
8 | 1***2 | Накладка панели облицовки передка лев. | |
8 | 1***3 | Накладка панели облицовки передка прав. | |
9 | 1***6 | Уплотнитель капота | |
10 | 2***6 | Полоска цветная на панели облицовки передка прав. | |
10 | 2***6 | Полоска цветная на панели облицовки передка лев. | |
11 | 1***1 | Опора капота | |
12 | 1***9 | Капот | |
13 | 1***1 | Тяга привода замка капота | |
14 | 1***3 | Крыло передн. лев. | |
14 | 1***3 | Крыло передн. прав. | |
15 | 0***0 | Облицовка лев. | |
15 | 0***1 | Облицовка прав. | |
16 | 1***1 | Корпус прав. бокового повторителя указат. поворота | |
16 | 1***1 | Корпус лев. бокового повторителя указат. поворота | |
17 | 1***0 | Накладка защитная крыла лев. | |
17 | 1***0 | Накладка защитная крыла прав. | |
18 | 1***2 | Стекло лев. боков. повторителя указат. поворота | |
18 | 1***2 | Стекло боков. повторителя указателя поворота прав. | |
19 | 1***5 | Двигатель регулятора прав. фары | |
19 | 1***5 | Двигатель регулятора лев. фары | |
20 | 1***0 | Фонарь указателя поворота передн. лев. | |
20 | 1***1 | Фонарь указателя поворота передн. прав. | |
21 | 1***6 | Фара прав. | |
21 | 1***7 | Фара лев. | |
22 | 1***5 | Кронштейн фары прав. | |
22 | 1***6 | Кронштейн фары прав. | |
23 | 1***3 | Цапфа направляющая | |
24 | 1***9 | Цифры фирменные передн. | |
25 | 1***5 | Скоба петли передн. лев. | |
25 | 1***6 | Скоба петли передн. прав. | |
26 | 1***4 | Форсунка омывателя прав. | |
26 | 1***4 | Форсунка омывателя лев. |
Содержащиеся в справочниках-каталогах запасные части и детали не предлагаются к продаже, а носят исключительно информационный характер. В демо-версии артикулы (номера деталей) скрыты. Если вы хотите видеть полные оригинальные номера запчастей, вам необходимо зарегистрироваться на нашем сайте и приобрести подписку по интересующей вас конфигурации, после этого вы сможете встроить онлайн-каталоги на ваш сайт или пользоваться ими из личного кабинета нашего сайта. Обращаем ваше внимание на то, что каталоги содержат информацию об оригинальных заводских номерах и названиях запчастей. База по аналогам в данный момент не реализована. Поиска по VIN-номерам в онлайн-каталоге не предусмотрено. Выбор конкретного каталога осуществляется путем открытия нужного типа техники, марки, модели с учетом года выпуска или модификации.