Каталог запасных частей к технике: Opel Astra 16V Bertone Edition (2012). Детали инжекторного двигателя (1.8л)

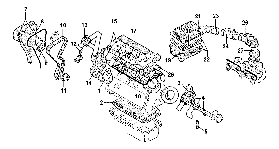
13
14
29
27
26
24
23
22
21
20
19
18
17
16
15
1
12
11
10
9
8
7
5
5
5
5
4
3
2
Позиция на иллюстрации | Заводской номер детали | Название детали | |
---|---|---|---|
1 | 1***8 | Термостат с фланцем | |
2 | 0***4 | Маслосборник с уплотнителем | |
3 | 0***0 | Регулятор давления | |
4 | 0***1 | Рампа впрыскивания топлива | |
5 | 0***5 | Форсунка топливная цилиндра 2 | |
5 | 0***5 | Форсунка топливная цилиндра 3 | |
5 | 0***5 | Форсунка топливная цилиндра 4 | |
5 | 0***5 | Форсунка топливная цилиндра 1 | |
7 | 5***1 | Крышка защитная зубчатого ремня передн. | |
8 | 0***3 | Уплотнитель защитной крышки зубчатого ремня | |
9 | 0***5 | Шестерня распределительного вала | |
10 | 5***8 | Ремень зубчатый | |
11 | 0***5 | Ролик направляющий зубчатого ремня | |
12 | 0***7 | Кронштейн направляющего ролика | |
13 | 5***8 | Ролик натяжной зубчатого ремня | |
14 | 5***3 | Крышка защитная зубчатого ремня задн. | |
15 | 0***2 | Крышка головки блока цилиндров | |
16 | 0***7 | Прокладка крышки головки блока цилиндров | |
17 | 0***0 | Крышка головки блока цилиндров | |
18 | 5***2 | Вал распределительный передн. | |
19 | 0***4 | Корпус воздушного фильтра | |
20 | 0***5 | Элемент фильтрующий | |
21 | 0***3 | Крышка воздушного фильтра | |
22 | 0***1 | Фильтр воздушный | |
23 | 5***3 | Колено шланга воздушного фильтра | |
24 | 0***9 | Расходомер воздуха | |
26 | 0***1 | Колено шланга | |
27 | 5***0 | Камера смесительная | |
29 | 5***1 | Вал распределительный задн. |
Содержащиеся в справочниках-каталогах запасные части и детали не предлагаются к продаже, а носят исключительно информационный характер. В демо-версии артикулы (номера деталей) скрыты. Если вы хотите видеть полные оригинальные номера запчастей, вам необходимо зарегистрироваться на нашем сайте и приобрести подписку по интересующей вас конфигурации, после этого вы сможете встроить онлайн-каталоги на ваш сайт или пользоваться ими из личного кабинета нашего сайта. Обращаем ваше внимание на то, что каталоги содержат информацию об оригинальных заводских номерах и названиях запчастей. База по аналогам в данный момент не реализована. Поиска по VIN-номерам в онлайн-каталоге не предусмотрено. Выбор конкретного каталога осуществляется путем открытия нужного типа техники, марки, модели с учетом года выпуска или модификации.