Каталог запасных частей к технике: Opel Astra Caravan Comfort (2012). Кузов 9

6
11
10
10
9
9
8
8
7
7
6
1
5
5
4
4
3
3
2
2
1
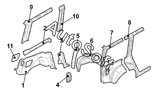
Позиция на иллюстрации | Заводской номер детали | Название детали | |
---|---|---|---|
1 | 2***4 | Облицовка боковины задн. лев. | |
1 | 7***8 | Облицовка боковины задн. прав. | |
2 | 7***5 | Щиток багажника лев. | |
2 | 7***6 | Щиток багажника прав. | |
3 | 2***3 | Облицовка арки задн. колеса передн. лев. | |
3 | 7***8 | Облицовка арки задн. колеса передн. прав. | |
4 | 5***8 | Усилитель прав. стойки крыши нижн. | |
4 | 5***9 | Усилитель лев. стойки крыши нижн. | |
5 | 5***3 | Усилитель лев. стойки крыши верхн. | |
5 | 5***4 | Усилитель прав. стойки крыши верхн. | |
6 | 1***5 | Арка задн. колеса лев. внутр. | |
6 | 1***6 | Арка задн. колеса прав. внутр. | |
7 | 5***1 | Боковина лев. задн. внутр. часть | |
7 | 5***0 | Боковина прав. задн. внутр. часть | |
8 | 5***9 | Боковина лев. средн. внутр. часть | |
8 | 5***0 | Боковина прав., средн. внутр. часть | |
9 | 2***7 | Облицовка стойки крыши лев. | |
9 | 2***8 | Облицовка стойки крыши прав. | |
10 | 7***0 | Облицовка задн. лев. стойки | |
10 | 7***1 | Облицовка задн. прав. стойки | |
11 | 2***4 | Облицовка обивки лев. |
Содержащиеся в справочниках-каталогах запасные части и детали не предлагаются к продаже, а носят исключительно информационный характер. В демо-версии артикулы (номера деталей) скрыты. Если вы хотите видеть полные оригинальные номера запчастей, вам необходимо зарегистрироваться на нашем сайте и приобрести подписку по интересующей вас конфигурации, после этого вы сможете встроить онлайн-каталоги на ваш сайт или пользоваться ими из личного кабинета нашего сайта. Обращаем ваше внимание на то, что каталоги содержат информацию об оригинальных заводских номерах и названиях запчастей. База по аналогам в данный момент не реализована. Поиска по VIN-номерам в онлайн-каталоге не предусмотрено. Выбор конкретного каталога осуществляется путем открытия нужного типа техники, марки, модели с учетом года выпуска или модификации.