Каталог запасных частей к технике: Opel Astra Caravan Elegance (2012). Кузов 5

13
9
10
10
11
11
12
12
13
9
14
15
16
17
17
18
18
1
8
8
7
7
6
6
5
5
4
4
3
3
2
2
1
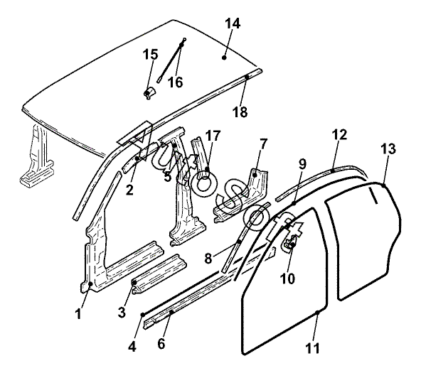
Позиция на иллюстрации | Заводской номер детали | Название детали | |
---|---|---|---|
1 | 0***5 | Стойка передн. лев., наружн. часть | |
1 | 0***6 | Стойка передн. прав., наружн. часть | |
2 | 5***3 | Рама крыши, передн. лев. наружн. часть | |
2 | 5***4 | Рама крыши, передн. прав. наружн. часть | |
3 | 5***9 | Порог передн. лев. двери наружн. | |
3 | 5***0 | Порог передн. прав. двери наружн. | |
4 | 5***1 | Уплотнитель лев. порога | |
4 | 5***2 | Уплотнитель порога прав. | |
5 | 5***8 | Стойка средн. лев., наружн. часть | |
5 | 5***9 | Стойка средн. прав., наружн. часть | |
6 | 0***3 | Спойлер лев. боков. | |
6 | 0***4 | Спойлер прав. боков. | |
7 | 0***3 | Порог задн. лев. двери наружн. | |
7 | 5***4 | Порог задн. прав. двери наружн. | |
8 | 5***7 | Планка крепления уплотнителя передн. лев. | |
8 | 5***8 | Планка крепления уплотнителя передн. прав. | |
9 | 5***6 | Уплотнитель каркаса крыши лев. | |
9 | 5***4 | Уплотнитель рамы крыши прав. | |
10 | 5***4 | Спойлер задн. прав. боков. | |
10 | 5***5 | Спойлер задн. лев. боков. | |
11 | 0***5 | Уплотнитель передн. лев. двери | |
11 | 0***6 | Уплотнитель передн. прав. двери | |
12 | 5***6 | Планка крепления уплотнителя задн. прав. | |
12 | 5***1 | Планка крепления уплотнителя задн. лев. | |
13 | 0***9 | Уплотнитель задн. лев. двери | |
13 | 0***0 | Уплотнитель задн. прав. двери | |
14 | 0***9 | Крыша | |
15 | 1***9 | Опора антенны | |
16 | 1***1 | Мачта антенны | |
17 | 0***9 | Щиток средн. лев. стойки | |
17 | 0***0 | Щиток средн. прав. стойки | |
18 | 0***5 | Накладка облицовочная крыши лев. | |
18 | 0***6 | Накладка облицовочная крыши прав. |
Содержащиеся в справочниках-каталогах запасные части и детали не предлагаются к продаже, а носят исключительно информационный характер. В демо-версии артикулы (номера деталей) скрыты. Если вы хотите видеть полные оригинальные номера запчастей, вам необходимо зарегистрироваться на нашем сайте и приобрести подписку по интересующей вас конфигурации, после этого вы сможете встроить онлайн-каталоги на ваш сайт или пользоваться ими из личного кабинета нашего сайта. Обращаем ваше внимание на то, что каталоги содержат информацию об оригинальных заводских номерах и названиях запчастей. База по аналогам в данный момент не реализована. Поиска по VIN-номерам в онлайн-каталоге не предусмотрено. Выбор конкретного каталога осуществляется путем открытия нужного типа техники, марки, модели с учетом года выпуска или модификации.