Каталог запасных частей к технике: Opel Astra GTC 1.9 CDTI DPF Sport (2012). Передняя часть кузова: капот, лобовое стекло

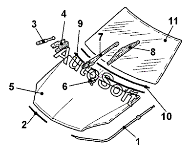
1
2
2
3
4
4
5
6
6
7
7
8
8
9
10
11
Позиция на иллюстрации | Заводской номер детали | Название детали | |
---|---|---|---|
1 | 6***7 | Тяга привода замка капота | |
2 | 1***6 | Уплотнитель капота передн., прав. часть | |
2 | 1***6 | Уплотнитель капота передн., лев. часть | |
3 | 1***5 | Амортизатор | |
4 | 1***5 | Петля капота лев. | |
4 | 1***8 | Петля капота прав. | |
5 | 1***4 | Капот | |
6 | 1***6 | Форсунка омывателя лев. | |
6 | 1***7 | Форсунка омывателя прав. | |
7 | 6***3 | Рычаг стеклоочистителя передн. лев. | |
7 | 6***4 | Рычаг стеклоочистителя передн. прав. | |
8 | -***- | Щетка стеклоочистителя передн. прав. | |
8 | -***- | Щетка стеклоочистителя передн. лев. | |
9 | 6***6 | Уплотнитель капота задн. | |
10 | 0***3 | Уплотнитель лобового стекла нижн. | |
11 | 5***8 | Стекло лобовое трехслойное тонир. |
Содержащиеся в справочниках-каталогах запасные части и детали не предлагаются к продаже, а носят исключительно информационный характер. В демо-версии артикулы (номера деталей) скрыты. Если вы хотите видеть полные оригинальные номера запчастей, вам необходимо зарегистрироваться на нашем сайте и приобрести подписку по интересующей вас конфигурации, после этого вы сможете встроить онлайн-каталоги на ваш сайт или пользоваться ими из личного кабинета нашего сайта. Обращаем ваше внимание на то, что каталоги содержат информацию об оригинальных заводских номерах и названиях запчастей. База по аналогам в данный момент не реализована. Поиска по VIN-номерам в онлайн-каталоге не предусмотрено. Выбор конкретного каталога осуществляется путем открытия нужного типа техники, марки, модели с учетом года выпуска или модификации.