Каталог запасных частей к технике: Opel Astra Twin Top 1.8 Automatic Edition (2012). Двери (кабриолет)

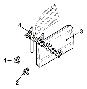
1
1
2
2
3
3
4
4
Позиция на иллюстрации | Заводской номер детали | Название детали | |
---|---|---|---|
1 | 0***7 | Петля передн. верхн. прав. | |
1 | 0***7 | Петля передн. верхн. лев. | |
2 | 0***7 | Петля передн. нижн. прав. | |
2 | 0***7 | Петля передн. нижн. лев. | |
3 | 0***4 | Дверь передн. лев. | |
3 | 0***9 | Дверь передн. прав. | |
4 | 0***8 | Уплотнитель двери лев. внутр. | |
4 | 0***9 | Уплотнитель двери прав. внутр. |
Содержащиеся в справочниках-каталогах запасные части и детали не предлагаются к продаже, а носят исключительно информационный характер. В демо-версии артикулы (номера деталей) скрыты. Если вы хотите видеть полные оригинальные номера запчастей, вам необходимо зарегистрироваться на нашем сайте и приобрести подписку по интересующей вас конфигурации, после этого вы сможете встроить онлайн-каталоги на ваш сайт или пользоваться ими из личного кабинета нашего сайта. Обращаем ваше внимание на то, что каталоги содержат информацию об оригинальных заводских номерах и названиях запчастей. База по аналогам в данный момент не реализована. Поиска по VIN-номерам в онлайн-каталоге не предусмотрено. Выбор конкретного каталога осуществляется путем открытия нужного типа техники, марки, модели с учетом года выпуска или модификации.