Каталог запасных частей к технике: Opel Zafira 1.9 CDTI Cosmo (2012). Двери 4

1
1
3
3
4
4
5
5
6
6
7
7
8
8
2
2
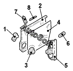
Позиция на иллюстрации | Заводской номер детали | Название детали | |
---|---|---|---|
1 | 0***5 | Ручка стеклоподъемника задн. прав. | |
1 | 0***5 | Ручка стеклоподъемника задн. лев. | |
2 | 7***2 | Обивка задн. лев. двери | |
2 | 7***3 | Обивка задн. прав. двери | |
3 | 1***8 | Динамик задн. прав. двери нижн. | |
3 | 1***8 | Динамик задн. лев. двери нижн. | |
4 | 7***X | Шумоизоляция задн. прав. двери | |
4 | 7***X | Шумоизоляция задн. лев. двери | |
5 | 5***9 | Стеклоподъемник задн. лев. | |
5 | 5***0 | Стеклоподъемник задн. прав. | |
6 | 2***2 | Фонарь двери задн. прав. | |
6 | 2***2 | Фонарь двери задн. лев. | |
7 | 6***8 | Переключатель задн. прав. двери | |
7 | 6***8 | Переключатель задн. лев. двери | |
8 | 2***1 | Ручка задн. двери прав. | |
8 | 2***1 | Ручка задн. двери лев. |
Содержащиеся в справочниках-каталогах запасные части и детали не предлагаются к продаже, а носят исключительно информационный характер. В демо-версии артикулы (номера деталей) скрыты. Если вы хотите видеть полные оригинальные номера запчастей, вам необходимо зарегистрироваться на нашем сайте и приобрести подписку по интересующей вас конфигурации, после этого вы сможете встроить онлайн-каталоги на ваш сайт или пользоваться ими из личного кабинета нашего сайта. Обращаем ваше внимание на то, что каталоги содержат информацию об оригинальных заводских номерах и названиях запчастей. База по аналогам в данный момент не реализована. Поиска по VIN-номерам в онлайн-каталоге не предусмотрено. Выбор конкретного каталога осуществляется путем открытия нужного типа техники, марки, модели с учетом года выпуска или модификации.