Каталог запасных частей к технике: Opel Vectra Sport (2012). Крыша и боковина

7
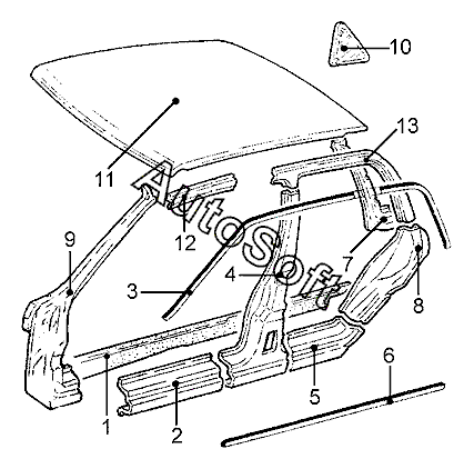
11
10
10
13
13
12
12
9
9
8
8
7
1
6
6
5
5
4
4
3
3
2
2
1
Позиция на иллюстрации | Заводской номер детали | Название детали | |
---|---|---|---|
1 | 2***2 | Облицовка порога прав. | |
1 | 2***9 | Облицовка порога передн. лев. | |
2 | 0***9 | Порог передн. лев. двери | |
2 | 0***0 | Порог передн. прав. двери | |
3 | 0***2 | Уплотнитель каркаса крыши лев. | |
3 | 0***4 | Уплотнитель рамы крыши прав. | |
4 | 0***5 | Стойка средн. лев. | |
4 | 0***8 | Стойка средн. прав. | |
5 | 5***2 | Порог задн. прав. двери | |
5 | 5***3 | Порог задн. лев. двери | |
6 | 0***0 | Уплотнитель лев. порога | |
6 | 0***1 | Уплотнитель порога прав. | |
7 | 0***5 | Усилитель задн. лев. стойки | |
7 | 0***6 | Усилитель задн. прав. стойки | |
8 | 0***4 | Стойка замка задн. лев. | |
8 | 0***5 | Стойка замка задн. прав. | |
9 | 0***8 | Стойка передн. лев., наружн. часть | |
9 | 0***9 | Стойка передн. прав., наружн. часть | |
10 | 0***8 | Стекло лев. боков. тонир. | |
10 | 0***9 | Стекло боковины прав. тонир. | |
11 | 0***8 | Крыша с рамой сдвижного люка | |
12 | 0***7 | Рама крыши, передн. лев. наружн. часть | |
12 | 0***8 | Рама крыши, передн. прав. наружн. часть | |
13 | 0***9 | Рама крыши, задн. лев. наружн. часть | |
13 | 0***0 | Рама крыши, задн. прав. наружн. часть |
Содержащиеся в справочниках-каталогах запасные части и детали не предлагаются к продаже, а носят исключительно информационный характер. В демо-версии артикулы (номера деталей) скрыты. Если вы хотите видеть полные оригинальные номера запчастей, вам необходимо зарегистрироваться на нашем сайте и приобрести подписку по интересующей вас конфигурации, после этого вы сможете встроить онлайн-каталоги на ваш сайт или пользоваться ими из личного кабинета нашего сайта. Обращаем ваше внимание на то, что каталоги содержат информацию об оригинальных заводских номерах и названиях запчастей. База по аналогам в данный момент не реализована. Поиска по VIN-номерам в онлайн-каталоге не предусмотрено. Выбор конкретного каталога осуществляется путем открытия нужного типа техники, марки, модели с учетом года выпуска или модификации.