Каталог запасных частей к технике: Opel Vectra Sport (2012). Люк крыши

8
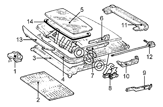
14
13
12
12
11
10
10
9
9
2
8
7
7
6
6
5
4
3
Позиция на иллюстрации | Заводской номер детали | Название детали | |
---|---|---|---|
2 | 0***1 | Козырек солнцезащитный сдвижного люка крыши | |
3 | 0***1 | Механизм привода | |
4 | 0***3 | Окантовка защитная сдвижного люка | |
5 | 0***1 | Крышка стеклянной крыши | |
6 | 0***5 | Направляющая крышки сдвижного люка крыши лев.нар. | |
6 | 0***6 | Направляющая крышки сдвижного люка крыши прав.нар. | |
7 | 0***4 | Накладка крышки сдвижного люка прав. | |
7 | 0***5 | Накладка крышки сдвижного люка лев. | |
8 | 0***4 | Направляющая сдвижного люка крыши передн. лев. | |
8 | 0***5 | Направляющая сдвижного люка крыши передн. прав. | |
9 | 0***6 | Поворотник крышки люка прав. | |
9 | 0***7 | Поворотник крышки люка лев. | |
10 | 0***7 | Направляющая сдвижного люка крыши задн. прав. | |
10 | 0***2 | Направляющая сдвижного люка крыши задн. лев. | |
11 | 0***3 | Обтекатель | |
12 | 0***3 | Тяга привода крышки сдвижного люка крыши прав. | |
12 | 0***3 | Тяга привода крышки сдвижного люка крыши лев. | |
13 | 0***1 | Обтекатель | |
14 | 0***8 | Уплотнитель крышки сдвижного люка крыши |
Содержащиеся в справочниках-каталогах запасные части и детали не предлагаются к продаже, а носят исключительно информационный характер. В демо-версии артикулы (номера деталей) скрыты. Если вы хотите видеть полные оригинальные номера запчастей, вам необходимо зарегистрироваться на нашем сайте и приобрести подписку по интересующей вас конфигурации, после этого вы сможете встроить онлайн-каталоги на ваш сайт или пользоваться ими из личного кабинета нашего сайта. Обращаем ваше внимание на то, что каталоги содержат информацию об оригинальных заводских номерах и названиях запчастей. База по аналогам в данный момент не реализована. Поиска по VIN-номерам в онлайн-каталоге не предусмотрено. Выбор конкретного каталога осуществляется путем открытия нужного типа техники, марки, модели с учетом года выпуска или модификации.