Каталог запасных частей к технике: Opel Vectra (2012). Кузов 1

1
2
5
6
9
10
11
12
12
14
14
4
8
16
16
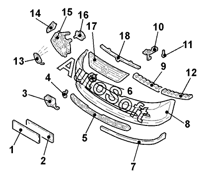
Позиция на иллюстрации | Заводской номер детали | Название детали | |
---|---|---|---|
1 | -***- | Знак номерной передн. | |
2 | -***- | Усилитель крепления передн. номерного знака | |
4 | 1***1 | Крышка буксирной проушины | |
5 | 1***3 | Решетка воздухозаборника передн. | |
6 | 1***6 | Эмблема изготовителя передн. | |
8 | 1***4 | Панель облицовки передка | |
9 | 1***5 | Опора панели облицовки передка сред. | |
10 | 1***2 | Защелка капота | |
11 | 1***3 | Цапфа направляющая | |
12 | 1***2 | Опора облицовки передка прав. | |
12 | 1***3 | Опора облицовки передка лев. | |
14 | 1***8 | Фонарь указателя поворота передн. прав. | |
14 | 1***9 | Фонарь указателя поворота передн. лев. | |
16 | 1***9 | Двигатель регулятора прав. фары | |
16 | 1***9 | Двигатель регулятора лев. фары |
Содержащиеся в справочниках-каталогах запасные части и детали не предлагаются к продаже, а носят исключительно информационный характер. В демо-версии артикулы (номера деталей) скрыты. Если вы хотите видеть полные оригинальные номера запчастей, вам необходимо зарегистрироваться на нашем сайте и приобрести подписку по интересующей вас конфигурации, после этого вы сможете встроить онлайн-каталоги на ваш сайт или пользоваться ими из личного кабинета нашего сайта. Обращаем ваше внимание на то, что каталоги содержат информацию об оригинальных заводских номерах и названиях запчастей. База по аналогам в данный момент не реализована. Поиска по VIN-номерам в онлайн-каталоге не предусмотрено. Выбор конкретного каталога осуществляется путем открытия нужного типа техники, марки, модели с учетом года выпуска или модификации.