Каталог запасных частей к технике: Opel Vectra Caravan DTI Elegance (2012). Кузов 7

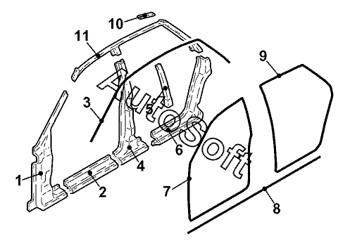
11
10
6
6
4
4
2
2
1
1
11
3
10
9
9
8
8
7
7
5
5
3
Позиция на иллюстрации | Заводской номер детали | Название детали | |
---|---|---|---|
1 | 0***9 | Стойка передн. лев., наружн. часть | |
1 | 0***0 | Стойка передн. прав., наружн. часть | |
2 | 0***3 | Порог передн. лев. двери | |
2 | 0***7 | Порог передн. прав. двери | |
3 | 5***1 | Уплотнитель каркаса крыши лев. | |
3 | 5***2 | Уплотнитель рамы крыши прав. | |
4 | 0***3 | Стойка средн. лев., наружн. часть | |
4 | 0***4 | Стойка средн. прав., наружн. часть | |
5 | 0***5 | Щиток средн. прав. стойки | |
5 | 0***9 | Щиток средн. лев. стойки | |
6 | 0***8 | Порог задн. лев. двери | |
6 | 0***9 | Порог задн. прав. двери | |
7 | 0***6 | Уплотнитель передн. прав. двери | |
7 | 0***7 | Уплотнитель передн. лев. двери | |
8 | 5***8 | Уплотнитель лев. порога | |
8 | 5***9 | Уплотнитель порога прав. | |
9 | 0***0 | Уплотнитель задн. прав. двери | |
9 | 0***1 | Уплотнитель задн. лев. двери | |
10 | 0***7 | Накладка облицовочная крыши лев. | |
10 | 5***0 | Накладка облицовочная крыши прав. | |
11 | 0***1 | Рама крыши, лев. наружн. часть | |
11 | 0***2 | Рама крыши, прав. наружн. часть |
Содержащиеся в справочниках-каталогах запасные части и детали не предлагаются к продаже, а носят исключительно информационный характер. В демо-версии артикулы (номера деталей) скрыты. Если вы хотите видеть полные оригинальные номера запчастей, вам необходимо зарегистрироваться на нашем сайте и приобрести подписку по интересующей вас конфигурации, после этого вы сможете встроить онлайн-каталоги на ваш сайт или пользоваться ими из личного кабинета нашего сайта. Обращаем ваше внимание на то, что каталоги содержат информацию об оригинальных заводских номерах и названиях запчастей. База по аналогам в данный момент не реализована. Поиска по VIN-номерам в онлайн-каталоге не предусмотрено. Выбор конкретного каталога осуществляется путем открытия нужного типа техники, марки, модели с учетом года выпуска или модификации.