Каталог запасных частей к технике: Opel Vectra 1.9 CDTI Caravan Elegance (2012). Воздушный фильтр

1
3
2
6
7
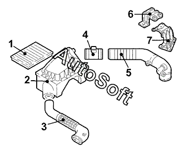
Позиция на иллюстрации | Заводской номер детали | Название детали | |
---|---|---|---|
1 | 0***6 | Элемент фильтрующий | |
2 | 5***4 | Фильтр воздушный в сборе | |
3 | 5***8 | Труба впускная воздушного фильтра | |
6 | 5***8 | Опора прав. гидравлическая | |
7 | 5***5 | Кронштейн силового агрегата передн. прав. |
Содержащиеся в справочниках-каталогах запасные части и детали не предлагаются к продаже, а носят исключительно информационный характер. В демо-версии артикулы (номера деталей) скрыты. Если вы хотите видеть полные оригинальные номера запчастей, вам необходимо зарегистрироваться на нашем сайте и приобрести подписку по интересующей вас конфигурации, после этого вы сможете встроить онлайн-каталоги на ваш сайт или пользоваться ими из личного кабинета нашего сайта. Обращаем ваше внимание на то, что каталоги содержат информацию об оригинальных заводских номерах и названиях запчастей. База по аналогам в данный момент не реализована. Поиска по VIN-номерам в онлайн-каталоге не предусмотрено. Выбор конкретного каталога осуществляется путем открытия нужного типа техники, марки, модели с учетом года выпуска или модификации.