Каталог запасных частей к технике: Opel Vectra 1.9 CDTI Caravan Elegance (2012). Передняя часть кузова: капот, лобовое стекло

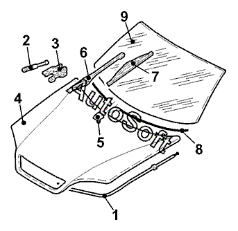
1
2
3
3
4
5
5
6
6
7
7
8
9
Позиция на иллюстрации | Заводской номер детали | Название детали | |
---|---|---|---|
1 | 6***6 | Тяга привода замка капота | |
2 | 1***4 | Амортизатор | |
3 | 1***1 | Петля капота лев. | |
3 | 1***2 | Петля капота прав. | |
4 | 1***9 | Капот | |
5 | 1***6 | Форсунка омывателя прав. | |
5 | 1***7 | Форсунка омывателя лев. | |
6 | 6***4 | Рычаг стеклоочистителя передн. прав. | |
6 | 6***5 | Рычаг стеклоочистителя передн. лев. | |
7 | -***- | Щетка стеклоочистителя передн. прав. | |
7 | -***- | Щетка стеклоочистителя передн. лев. | |
8 | 1***0 | Уплотнитель капота задн. | |
9 | 0***5 | Стекло лобовое трехслойное тонир. |
Содержащиеся в справочниках-каталогах запасные части и детали не предлагаются к продаже, а носят исключительно информационный характер. В демо-версии артикулы (номера деталей) скрыты. Если вы хотите видеть полные оригинальные номера запчастей, вам необходимо зарегистрироваться на нашем сайте и приобрести подписку по интересующей вас конфигурации, после этого вы сможете встроить онлайн-каталоги на ваш сайт или пользоваться ими из личного кабинета нашего сайта. Обращаем ваше внимание на то, что каталоги содержат информацию об оригинальных заводских номерах и названиях запчастей. База по аналогам в данный момент не реализована. Поиска по VIN-номерам в онлайн-каталоге не предусмотрено. Выбор конкретного каталога осуществляется путем открытия нужного типа техники, марки, модели с учетом года выпуска или модификации.