Меню Закрыть

Демо

Каталог запасных частей к технике: Opel Vectra 1.9 CDTI DPF Edition (2012). Обивка двери задней

zoom-in zoom-out enlarge shrink circle-right circle-left file-text2 info cart
1
1
2
2
3
3
4
4
5
5
6
6
7
7
8
8
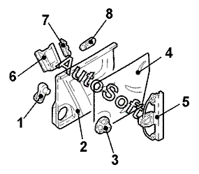
Позиция на иллюстрации Заводской номер детали Название детали
1 0***7 Ручка стеклоподъемника задн. прав.
1 0***7 Ручка стеклоподъемника задн. лев.
2 7***5 Обивка задн. лев. двери
2 7***4 Обивка задн. прав. двери
3 1***8 Динамик задн. прав. двери нижн.
3 1***8 Динамик задн. лев. двери нижн.
4 7***X Шумоизоляция задн. прав. двери
4 7***X Шумоизоляция задн. лев. двери
5 5***3 Стеклоподъемник задн. лев.
5 5***4 Стеклоподъемник задн. прав.
6 2***3 Ручка задн. двери лев.
6 2***4 Ручка задн. прав. двери
7 2***6 Облицовка обивки задн. прав. двери
7 2***6 Облицовка обивки задн. лев. двери
8 1***8 Фонарь двери задн. прав.
8 1***8 Фонарь двери задн. лев.
Содержащиеся в справочниках-каталогах запасные части и детали не предлагаются к продаже, а носят исключительно информационный характер. В демо-версии артикулы (номера деталей) скрыты. Если вы хотите видеть полные оригинальные номера запчастей, вам необходимо зарегистрироваться на нашем сайте и приобрести подписку по интересующей вас конфигурации, после этого вы сможете встроить онлайн-каталоги на ваш сайт или пользоваться ими из личного кабинета нашего сайта. Обращаем ваше внимание на то, что каталоги содержат информацию об оригинальных заводских номерах и названиях запчастей. База по аналогам в данный момент не реализована. Поиска по VIN-номерам в онлайн-каталоге не предусмотрено. Выбор конкретного каталога осуществляется путем открытия нужного типа техники, марки, модели с учетом года выпуска или модификации.