Каталог запасных частей к технике: Opel Vectra 1.9 CDTI DPF Elegance (2012). Задняя часть кузова: дверь задка

12
3
3
14
2
17
17
16
15
13
1
12
11
11
10
9
8
7
3
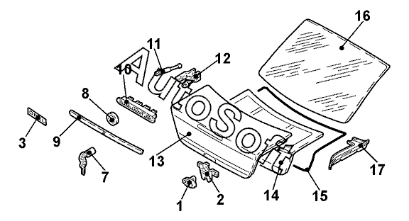
Позиция на иллюстрации | Заводской номер детали | Название детали | |
---|---|---|---|
1 | 5***4 | Пластина/плата замка задн. | |
2 | 5***8 | Замок крышки багажника | |
3 | 5***7 | Эмблема изготовителя | |
3 | 5***7 | Надпись на двигателе | |
3 | 5***0 | Надпись VECTRA | |
7 | 5***4 | Цилиндр задн. замка | |
8 | 0***6 | Эмблема изготовителя задн. | |
9 | 0***5 | Накладка крышки багажника | |
10 | 1***8 | Фонарь сигнала торможения дополнительный | |
11 | 0***9 | Амортизатор задн. прав. | |
11 | 0***9 | Амортизатор задн. лев. | |
12 | 0***1 | Петля задн. лев. | |
12 | 0***2 | Петля задн. прав. | |
13 | 0***4 | Крышка багажника | |
14 | 2***0 | Облицовка крышки багажника | |
15 | 5***3 | Уплотнитель крышки багажника | |
16 | 5***6 | Стекло задка обогрев. | |
17 | 5***8 | Вставка прав. верхн. | |
17 | 5***9 | Вставка лев. верхн. |
Содержащиеся в справочниках-каталогах запасные части и детали не предлагаются к продаже, а носят исключительно информационный характер. В демо-версии артикулы (номера деталей) скрыты. Если вы хотите видеть полные оригинальные номера запчастей, вам необходимо зарегистрироваться на нашем сайте и приобрести подписку по интересующей вас конфигурации, после этого вы сможете встроить онлайн-каталоги на ваш сайт или пользоваться ими из личного кабинета нашего сайта. Обращаем ваше внимание на то, что каталоги содержат информацию об оригинальных заводских номерах и названиях запчастей. База по аналогам в данный момент не реализована. Поиска по VIN-номерам в онлайн-каталоге не предусмотрено. Выбор конкретного каталога осуществляется путем открытия нужного типа техники, марки, модели с учетом года выпуска или модификации.