Каталог запасных частей к технике: Opel Vectra 2.2 (2012). Основание/Обивка салона

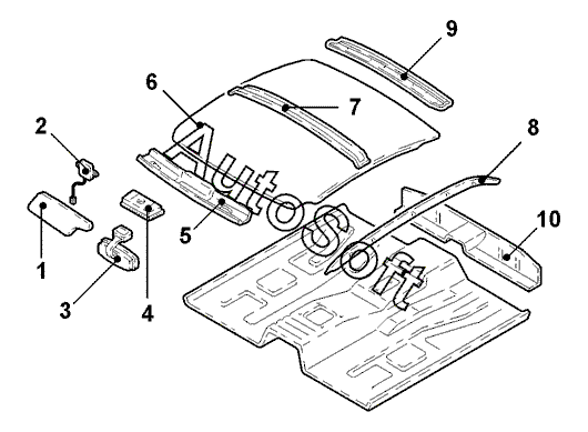
1
1
3
4
5
7
10
6
8
8
9
Позиция на иллюстрации | Заводской номер детали | Название детали | |
---|---|---|---|
1 | 1***7 | Козырек солнцезащитный прав. | |
1 | 1***8 | Козырек солнцезащитный лев. | |
3 | 6***0 | Зеркало внутр. | |
4 | 1***4 | Консоль крыши | |
5 | 0***4 | Рама крыши, передн. часть | |
6 | 2***6 | Облицовка крыши | |
7 | 0***5 | Дуга крыши средн. | |
8 | 5***0 | AirBag в подголовнике прав. | |
8 | 5***1 | AirBag в подголовнике лев. | |
9 | 5***2 | Рама крыши, задн. часть | |
10 | 0***1 | Поперечина основания |
Содержащиеся в справочниках-каталогах запасные части и детали не предлагаются к продаже, а носят исключительно информационный характер. В демо-версии артикулы (номера деталей) скрыты. Если вы хотите видеть полные оригинальные номера запчастей, вам необходимо зарегистрироваться на нашем сайте и приобрести подписку по интересующей вас конфигурации, после этого вы сможете встроить онлайн-каталоги на ваш сайт или пользоваться ими из личного кабинета нашего сайта. Обращаем ваше внимание на то, что каталоги содержат информацию об оригинальных заводских номерах и названиях запчастей. База по аналогам в данный момент не реализована. Поиска по VIN-номерам в онлайн-каталоге не предусмотрено. Выбор конкретного каталога осуществляется путем открытия нужного типа техники, марки, модели с учетом года выпуска или модификации.