Каталог запасных частей к технике: Opel Vectra 2.2 (2012). Дверь передняя

16
11
12
12
13
13
14
14
15
15
16
11
17
17
18
18
19
19
20
20
21
6
1
2
2
3
3
4
4
5
5
1
6
7
7
8
8
9
9
10
10
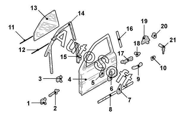
Позиция на иллюстрации | Заводской номер детали | Название детали | |
---|---|---|---|
1 | 0***9 | Петля лев. нижн. | |
1 | 0***2 | Петля прав. нижн. | |
2 | 5***5 | Ограничитель передн. прав. двери | |
2 | 5***5 | Ограничитель передн. лев. двери | |
3 | 0***7 | Петля лев. верхн. | |
3 | 0***0 | Петля прав. верхн. | |
4 | 0***2 | Дверь передн. прав. | |
4 | 0***3 | Дверь передн. лев. | |
5 | 0***7 | Вставка угловая передн. лев. наружн. | |
5 | 0***8 | Вставка угловая передн. прав. наружн. | |
6 | 6***2 | Кронштейн наружн. зеркала прав. | |
6 | 6***3 | Кронштейн наружн. зеркала лев. | |
7 | 6***6 | Уплотнитель зеркала прав. наружн. | |
7 | 6***7 | Уплотнитель зеркала лев. наружн. | |
8 | 5***3 | Накладка защитная передн. лев. двери | |
8 | 5***4 | Накладка защитная передн. прав. двери | |
9 | 5***9 | Ручка передн. двери прав. наружн. | |
9 | 5***9 | Ручка передн. двери лев. наружн. | |
10 | 0***1 | Накладка ручки передн. лев. двери | |
10 | 0***2 | Накладка ручки передн. прав. двери | |
11 | 5***8 | Уплотнитель шахты стекла прав. внутр. | |
11 | 5***9 | Уплотнитель шахты стекла лев. внутр. | |
12 | 5***5 | Уплотнитель шахты передн. лев. стекла наружн. | |
12 | 5***6 | Уплотнитель шахты передн. прав. стекла наружн. | |
13 | 5***3 | Стекло передн. лев. двери | |
13 | 5***4 | Стекло передн. прав. двери | |
14 | 5***6 | Направляющая стекла передн. прав. двери | |
14 | 5***7 | Направляющая стекла передн. лев. двери | |
15 | 0***4 | Направляющая передн. прав. | |
15 | 0***4 | Направляющая передн. лев. | |
16 | 2***1 | Накладка передн. лев. двери задн. | |
16 | 2***2 | Накладка передн. прав. двери задн. | |
17 | 0***8 | Кронштейн ручки передн. прав. двери | |
17 | 5***8 | Кронштейн ручки передн. лев. двери | |
18 | 0***3 | Кронштейн накладки прав. | |
18 | 0***3 | Кронштейн накладки лев. | |
19 | 0***3 | Замок передн. лев. двери с двигателем | |
19 | 5***2 | Замок передн. прав. двери с двигателем | |
20 | 0***2 | Скоба передн. прав. замка | |
20 | 0***2 | Скоба передн. лев. замка | |
21 | 5***0 | Цилиндр замка передн. |
Содержащиеся в справочниках-каталогах запасные части и детали не предлагаются к продаже, а носят исключительно информационный характер. В демо-версии артикулы (номера деталей) скрыты. Если вы хотите видеть полные оригинальные номера запчастей, вам необходимо зарегистрироваться на нашем сайте и приобрести подписку по интересующей вас конфигурации, после этого вы сможете встроить онлайн-каталоги на ваш сайт или пользоваться ими из личного кабинета нашего сайта. Обращаем ваше внимание на то, что каталоги содержат информацию об оригинальных заводских номерах и названиях запчастей. База по аналогам в данный момент не реализована. Поиска по VIN-номерам в онлайн-каталоге не предусмотрено. Выбор конкретного каталога осуществляется путем открытия нужного типа техники, марки, модели с учетом года выпуска или модификации.